LEMON Manuals: Even more car manuals for everyone
Home >> Buick >> 2017 >> Encore Base >> Repair and Diagnosis >> Engine Performance >> Engine Control Systems >> Engine Controls And Fuel - 1.4L (LUV) - Repair Instructions >> Repair Instructions >> Wire to Wire Repair - Engine Controls and Fuel >> Notes

Wire to Wire Repair - Engine Controls and Fuel: Notes

Special Tools

For equivalent regional tools, refer to Special Tools .

WARNING:

In order to reduce the risk of personal injury, loss of high voltage isolation to ground and higher system impedance, do not attempt to repair any HV wiring, connector, or terminal that is damaged. High voltage coaxial type cables are not repairable. Never attempt to repair a coaxial type cable. The entire cable/harness or component must be replaced. In order to maintain system integrity and personal safety, never attempt to repair any high voltage wiring, cables, or terminals. Performing this procedure on high voltage circuits may result in serious injury or death.

NOTE:

If the wiring harness internal to the transmission is damaged, the wiring harness must be replaced. The use of splice sleeves in an attempt to repair the internal transmission wires, connectors, or terminals could result in performance issues.

NOTE:

Do not splice wires in Door Harness Grommets.

NOTE:

The DuraSeal splice sleeves have the following 2 critical features:

  • A special heat shrink sleeve environmentally seals the splice. The heat shrink sleeve contains a sealing adhesive inside.
  • A cross hatched (knurled) core crimp provides the necessary low resistance contact integrity for these sensitive, low energy circuits.

Use only DuraSeal splice sleeves to form a one-to-one splice on all types of insulation except high voltage and specialty cables. Use DuraSeal splice sleeves where there are special requirements such as moisture sealing. Follow the instructions below in order to splice copper wire using DuraSeal splice sleeves.

Splice Sleeve Selection

Splice Sleeve Color Crimp Tool Nest Color Wire Gauge mm2 / (AWG)
3 Crimp Nests 4 Crimp Nests
Salmon (Yellow-Pink)
19300089
Red (1) or Red/Green (1) Red (2) 0.22-0.8/(18-26)
Blue
19168447
Blue (2) Blue (3) 1.0-2.0/(14-16)
Yellow
19168448
Yellow (3) Yellow (4) 3.0-5.0/(10-12)
    NOTE:

    You must perform the following procedures in the listed order. Repeat the procedure if any wire strands are damaged. You must obtain a clean strip with all of the wire strands intact.

  1. Open the harness by removing any tape:
    • Use a sewing seam ripper, available from sewing supply stores, in order to cut open the harness in order to avoid wire insulation damage.
    • Use the DuraSeal splice sleeves on all types of insulation except Tefzel and coaxial.
    • Do not use the crimp and DuraSeal splice sleeve to form a splice with more than 2 wires coming together.
  2. Cut as little wire off the harness as possible. You may need the extra length of wire in order to change the location of a splice.

    Adjust splice locations so that each splice is at least 40 mm (1.5 in) away from the other splices, harness branches, or connectors.

  3. Strip the insulation:
    • When adding a length of wire to the existing harness, use the same size wire as the original wire.
    • Perform one of the following items in order to find the correct wire size:
      • Find the wire on the schematic and convert to regional wiring gauge size.
      • If you are unsure of the wire size, begin with the largest opening in the wire stripper and work down until achieving a clean strip of the insulation.
    • Strip approximately 5.0 mm (0.20 in) of insulation from each wire to be spliced.
    • Do not nick or cut any of the strands. Inspect the stripped wire for nicks or cut strands.
    • If the wire is damaged, repeat this procedure after removing the damaged section.
  4. For high temperature wiring, slide a section of high temperature SCT1 shrink tubing down the length of wire to be spliced. Ensure that the shrink tubing will not interfere with the splice procedure.
  5. Select the proper DuraSeal splice sleeve according to the wire size. Refer to the above table at the beginning of the repair procedure for the color coding of the DuraSeal splice sleeves and the crimp tool nests.
  6. Fig 1: Splice Sleeve Crimping Tool With 4 Crimp Nests
    GM2414855Courtesy of GENERAL MOTORS COMPANY
  7. The EL-38125-10  splice sleeve crimping tool has four crimp nests. The largest crimp nest (4) is used for crimping 10 and 12 gauge wires. The second largest crimp nest (3) is used for crimping 14 and 16 gauge wires. The third largest crimp nest (2) is used for crimping 18 and 20 gauge wires. The smallest crimp nest (1) is used for crimping 22 to 26 gauge wires. The crimp nests are referenced in the table (farther above) under the crimp tool nest color.
  8. Fig 2: Splice Sleeve Crimping Tool With 3 Crimp Nests
    GM68642Courtesy of GENERAL MOTORS COMPANY
  9. The J-38125-8  splice sleeve crimping tool has three crimp nests. The largest crimp nest (3) is used for crimping 10 and 12 gauge wires. The second largest crimp nest (2) is used for crimping 14 and 16 gauge wires. The smallest crimp nest (1) is used for crimping 18 to 20 gauge wires. The crimp nests are referenced in the table (farther above) under the crimp tool nest color.
  10. Use the splice sleeve crimp tool in order to position the DuraSeal splice sleeve in the proper color nest of the splice sleeve crimp tool. For the four crimp nest tool, use the three largest crimp nests to crimp the splice sleeves. For the three crimp nest tool, use all three crimp nests to crimp the splice sleeves. Use the four and three crimp tool diagrams (above) and the table (farther above) to match the splice sleeve with the correct crimp nest. The crimp tool diagram callout numbers match the numbers in the table (under crimp tool nest color).
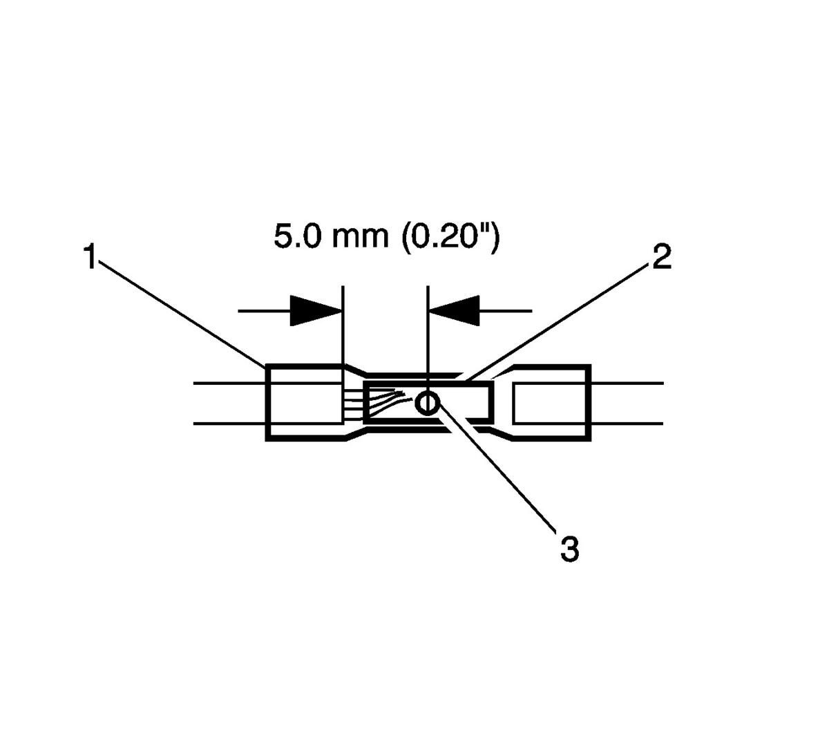
  11. Fig 3: Identifying Duraseal Splice Sleeve
    GM68639Courtesy of GENERAL MOTORS COMPANY
  12. Place the DuraSeal splice sleeve in the nest. Ensure that the crimp falls midway between the end of the barrel and the stop. The sleeve has a stop (3) in the middle of the barrel (2) in order to prevent the wire (1) from going further. Close the hand crimper handles slightly in order to firmly hold the DuraSeal splice sleeve in the proper nest.
  13. Fig 4: Crimped Duraseal Splice Sleeve
    GM9502Courtesy of GENERAL MOTORS COMPANY
  14. Insert the wire into the splice sleeve barrel until the wire hits the barrel stop. Refer to Folded-Over Wire Repair for splicing wires of 0.35 mm or less (22, 24, 26 gauge sizes) and for splicing wires of different gauges.
  15. Tightly close the handles of the crimp tool until the crimper handles open when released.

    The crimper handles will not open until you apply the proper amount of pressure to the DuraSeal splice sleeve. Repeat steps 4 and 6 for the opposite end of the splice.

  16. Fig 5: Crimped Duraseal Splice Sleeve
    GM9503Courtesy of GENERAL MOTORS COMPANY
  17. Using the heat torch, apply heat to the crimped area of the barrel.
  18. Start in the middle and gradually move the heat barrel to the open ends of the tubing:
    • The tubing will shrink completely as the heat is moved along the insulation.
    • A small amount of sealant will come out of the end of the tubing when sufficient shrinkage is achieved.