LEMON Manuals: Even more car manuals for everyone
Home >> Buick >> 2017 >> Cascada Base >> Repair and Diagnosis >> Electrical >> Wiring Diagrams >> Component Connector End Views (M97-X85) >> Component Connector End Views >> P17 Info Display Module X2

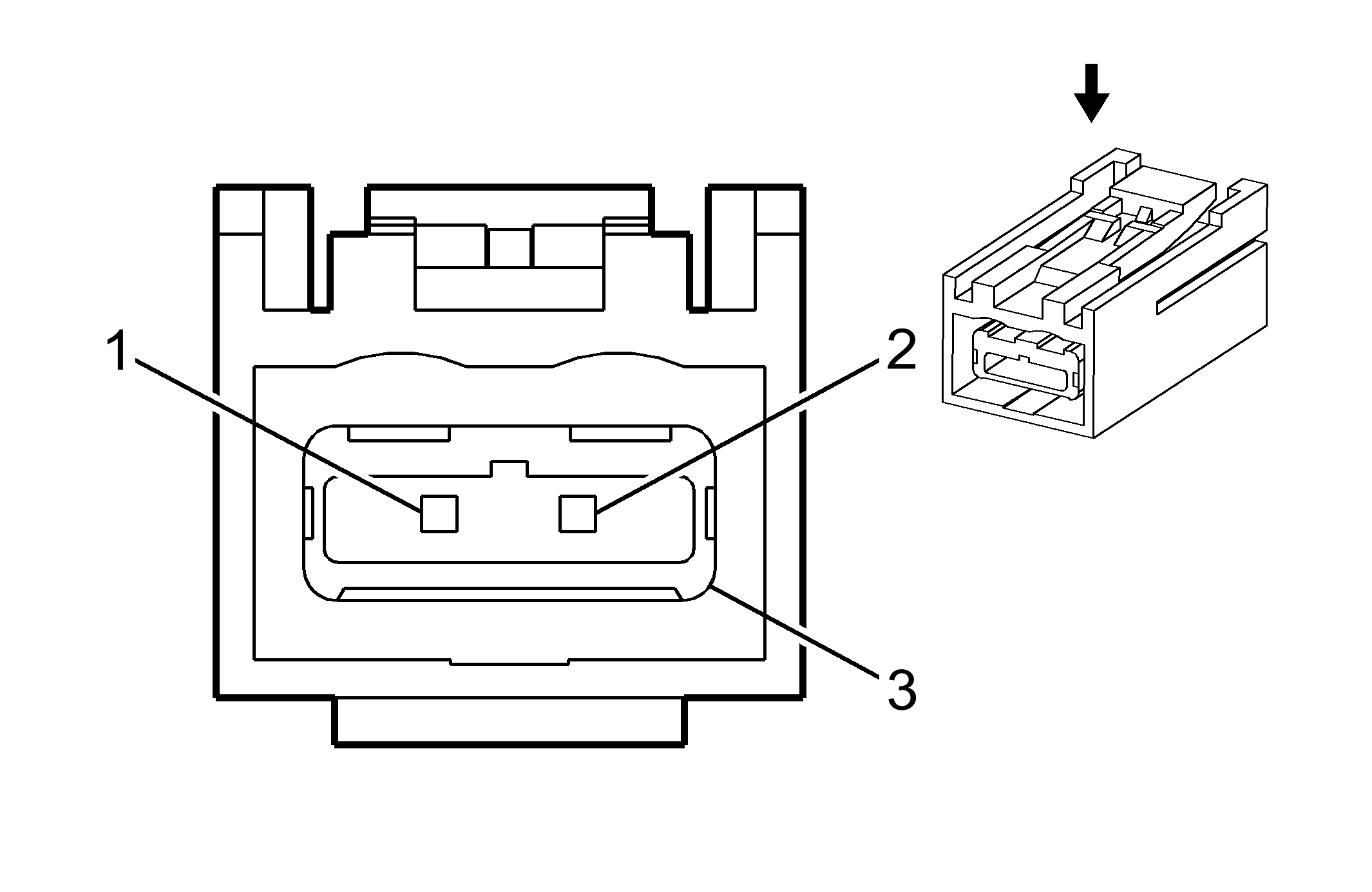
P17 Info Display Module X2

GM1974985Courtesy of GENERAL MOTORS COMPANY
Connector Part Information
  • Harness Type: Instrument Panel TWINAX
  • OEM Connector: MX38002FQ1
  • Service Connector: Service by Cable Assembly - See Part Catalog
  • Description: 3-Way F MX38 Series Twinax, Sealed (L-BU)
Terminal Part Information

Terminal Type ID Terminated Lead Diagnostic Test Probe Terminal Removal Tool Service Terminal Tray Name Core Crimp Insulation Crimp
I Not Required No Tool Required No Tool Required Not Required Not Required Not Required Not Required
Pin Size Color Circuit Function Terminal Type ID Option
1 0.35 BU USB USB Cable I -
2 - 3 - - - Not Occupied - -