LEMON Manuals: Even more car manuals for everyone
Home >> Buick >> 2017 >> Cascada Base >> Repair and Diagnosis (Single Page) >> Accessories & Equipment >> Entertainment Systems >> Cellular System, Entertainment System, And Navigation System >> Repair Instructions >> Digital Radio Transceiver Module Antenna Replacement

Digital Radio Transceiver Module Antenna Replacement

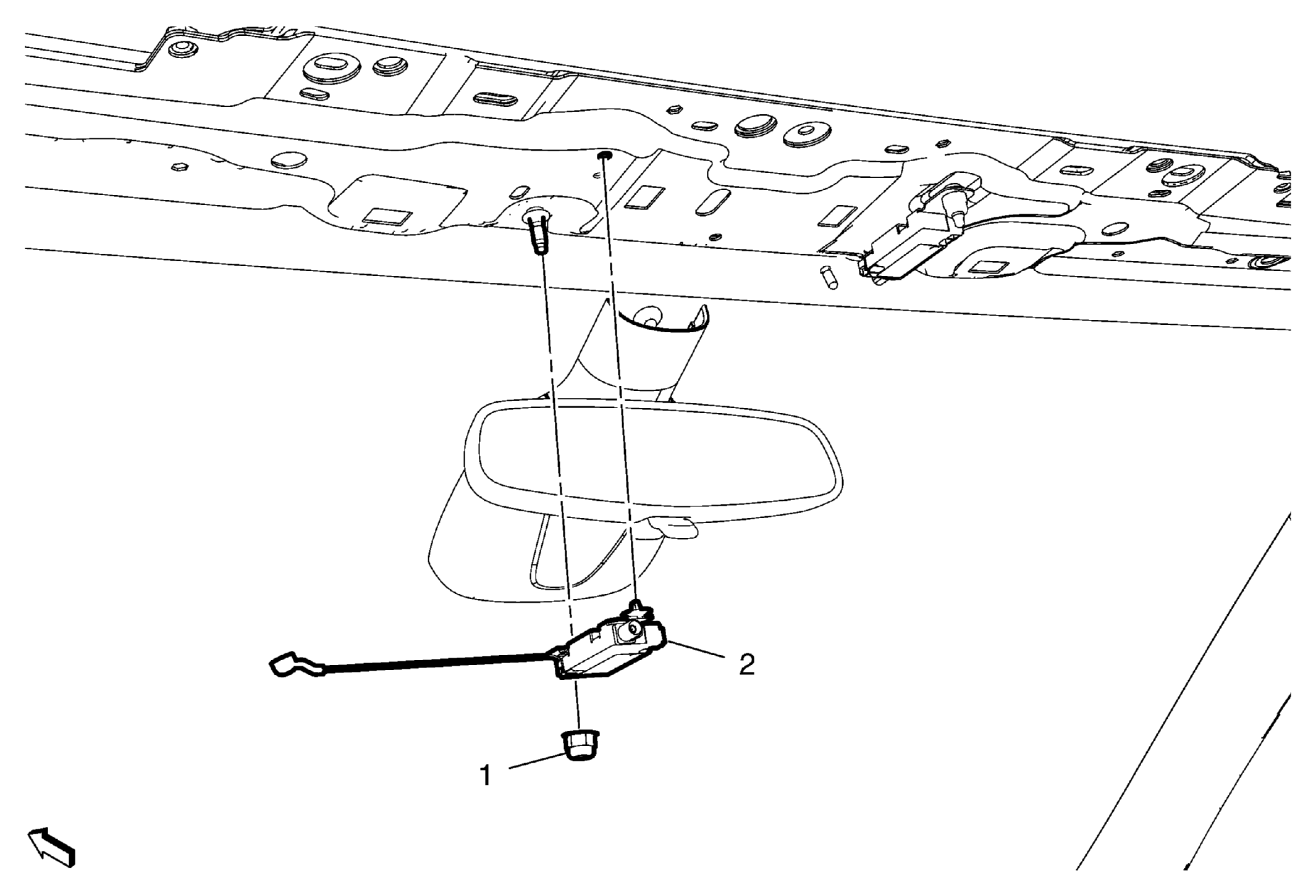
GM2949042
Callout Component Name
Preliminary Procedure 
Remove the headlining front trim panel. Refer to Headlining Front Trim Panel Replacement .
1 Digital Radio Transceiver Module Antenna Nut
CAUTION:

Refer to Fastener Caution .

2 Digital Radio Transceiver Module Antenna

Procedure

  1. Disconnect the electrical connector.
  2. Unlock retainers.