LEMON Manuals: Even more car manuals for everyone
Home >> Buick >> 2016 >> Verano Base, Gas >> Repair and Diagnosis >> External Pages >> Different car >> Section 109 (Wiring Systems And Power Management - Component Connector End Views - A/C Compressor Clutch To Heated Seat Control Module (KA1) X1) >> Component Connector End Views >> Generator X1

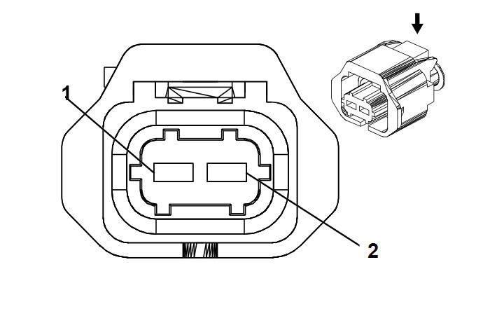
Generator X1

WARNING: This page is about a different car, the 2016 Chevrolet Impala Limited. However, it is still accessible from the selected car via links, so may be relevant.
Fig 1: Generator X1 Connector End View
GM1855214Courtesy of GENERAL MOTORS COMPANY
Generator X1

Pin Wire Circuit Function
1 0.5 OG 225 Generator Turn On Signal
2 0.5 GY 23 Generator Field Duty Cycle Signal
Connector Part Information
  • Harness Type: Engine
  • OEM Connector: 15397337
  • Service Connector: 13355748
  • Description: 2-Way F Power Timer Series (BK)
Terminal Part Information
  • Terminated Lead: 13575440
  • Release Tool: J-38125-36
  • Diagnostic Test Probe: J-35616-35 (VT)
  • Terminal/Tray: 4-964286-1/16
  • Core/Insulation Crimp: E/1