LEMON Manuals: Even more car manuals for everyone
Home >> Buick >> 2016 >> Encore Base, AWD >> Repair and Diagnosis >> External Pages >> Different car >> Section 24 (Data Communication System) >> Schematic Wiring Diagrams >> Data Communication Schematics (Trax) >> Linear Interconnect Network (Trax)

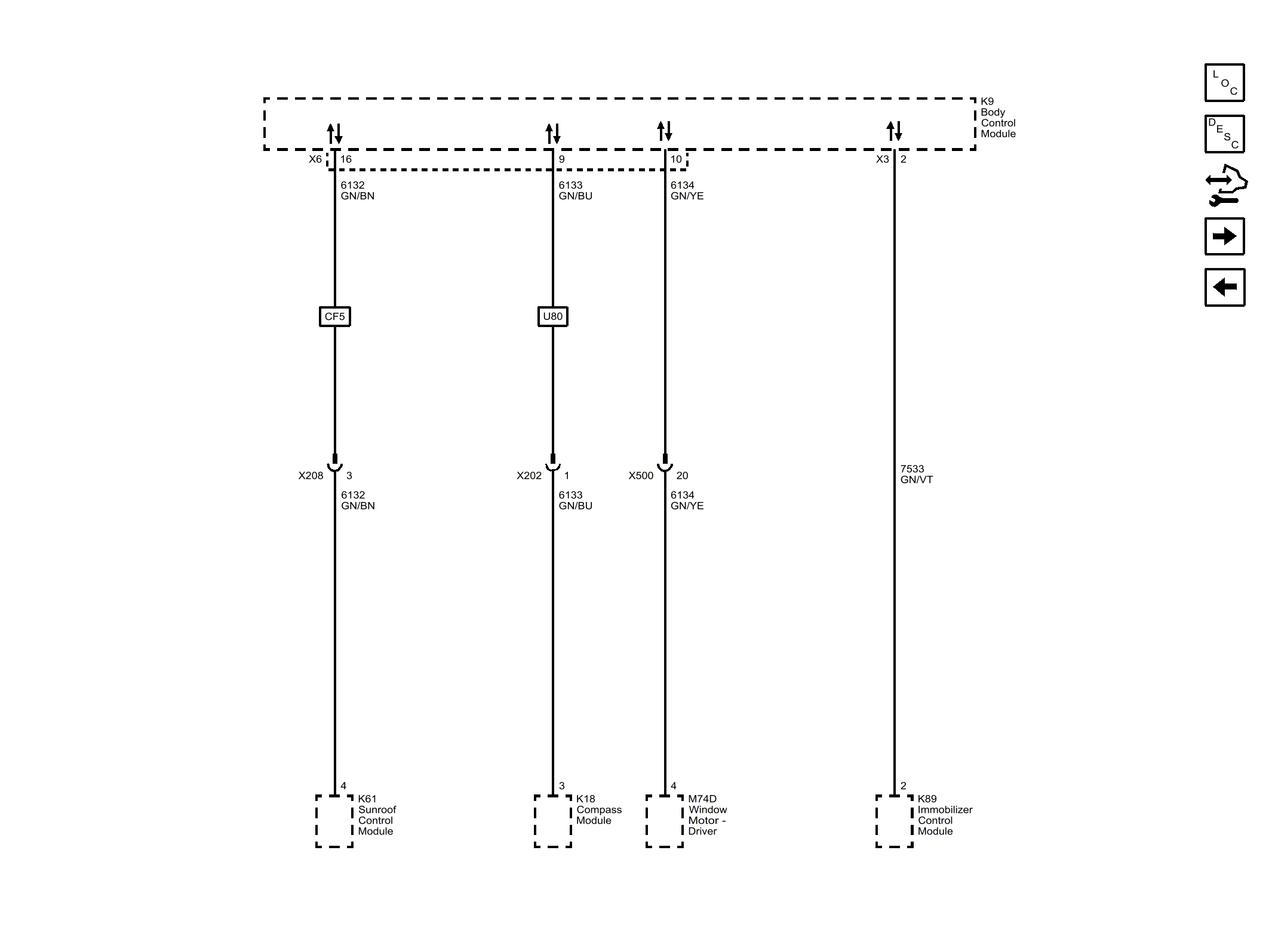
Linear Interconnect Network (Trax)

WARNING: This page is about a different car, the 2015 Chevrolet Trax and 2015 Buick Encore. However, it is still accessible from the selected car via links, so may be relevant.
Fig 1: Linear Interconnect Network (Trax)
GM3689295Courtesy of GENERAL MOTORS COMPANY