LEMON Manuals: Even more car manuals for everyone
Home >> Buick >> 2013 >> Verano Premium, Automatic Trans >> Repair and Diagnosis >> External Pages >> Different car >> Section 98 (Wiring Systems And Power Management - Component Connector End Views - B63 Through E5H) >> Component Connector End Views >> B118B Windshield Washer Fluid Level Switch Connector End View

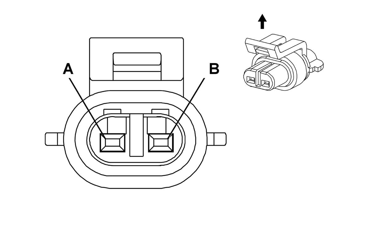
B118B Windshield Washer Fluid Level Switch Connector End View

WARNING: This page is about a different car, the 2011 Buick Regal. However, it is still accessible from the selected car via links, so may be relevant.
Fig 1: B118B Windshield Washer Fluid Level Switch Connector End View
GM2179756Courtesy of GENERAL MOTORS CORP.
B118B Windshield Washer Fluid Level Switch

Pin Color Circuit Function
A 0.5 VT 185 Low Washer Fluid Indicator Control
B 1.50 BK 1350 Ground
Connector Part Information 
  • Harness Type: Body
  • OEM Connector: 90346580
  • Service Connector: 88987920
  • Description: 2-Way F Metri-Pack 150 Series, Sealed (BK)
Terminal Part Information 
  • Terminated Lead: Pending
  • Release Tool: 12094429
  • Diagnostic Test Probe: J-35616-14 (GN)
  • Terminal/Tray: 12048074/2
  • Core/Insulation Crimp: Pins A - E/1
  • Core/Insulation Crimp: Pins B - Pending