LEMON Manuals: Even more car manuals for everyone
Home >> Buick >> 2013 >> Verano Base >> Repair and Diagnosis >> Engine Performance >> Engine Control Systems >> Engine Controls/Fuel - 2.4L (Lea) - Repair Instructions >> Repair Instructions >> Flexible Fuel Sensor Replacement >> Installation Procedure

Installation Procedure

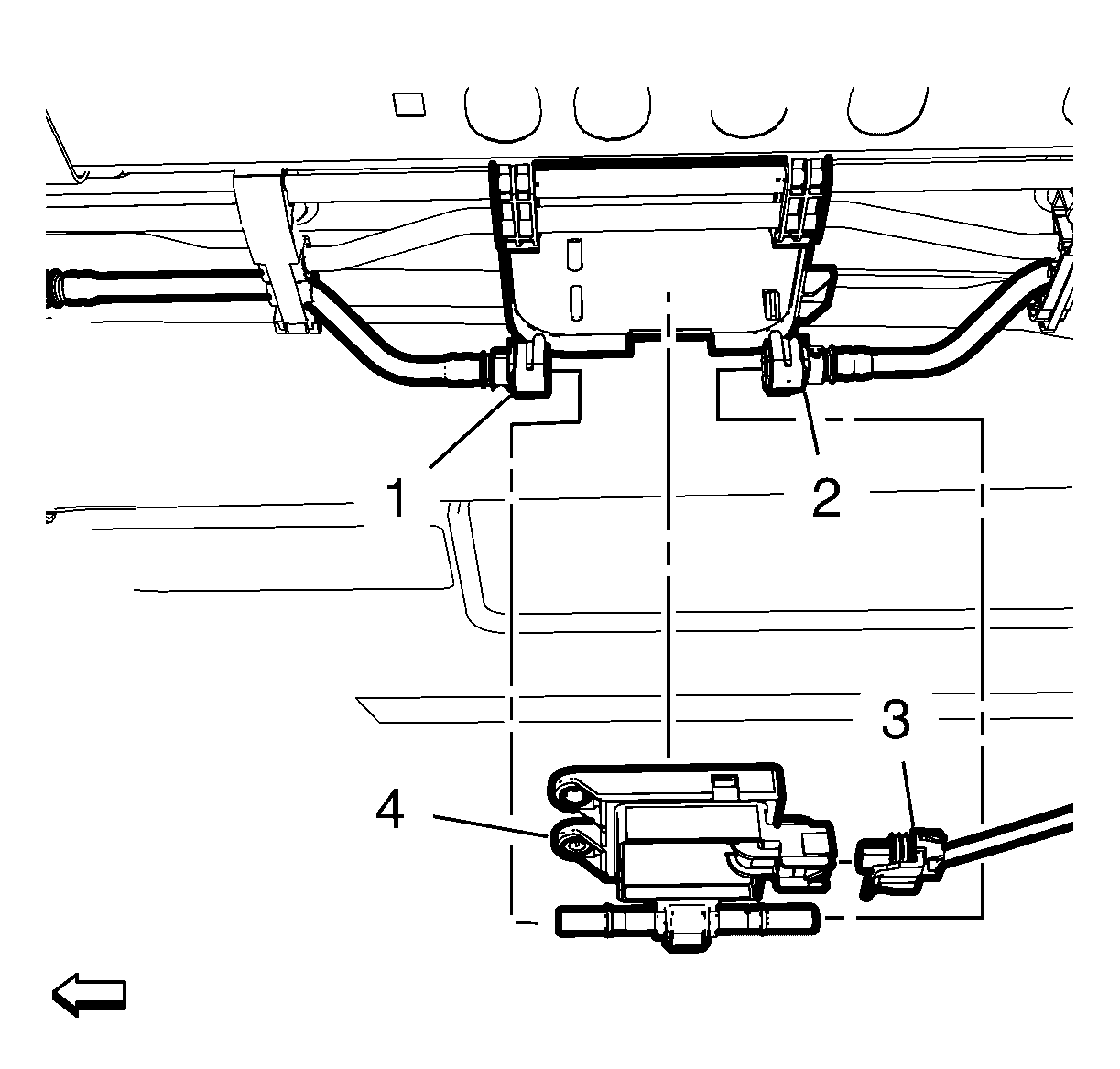
    Fig 1: Flexible Fuel Sensor & Components
    GM2594923Courtesy of GENERAL MOTORS COMPANY
  1. Clip in the flexible fuel sensor (4).
  2. Connect the flexible fuel sensor wiring harness plug (3).
  3. Install the fuel feed pipe (1, 2) to the flexible fuel sensor (4). Refer to Plastic Collar Quick Connect Fitting Service .
  4. Install the underbody front air deflector - right side. Refer to Underbody Front Air Deflector Replacement - Right Side .
  5. Lower the vehicle.