LEMON Manuals: Even more car manuals for everyone
Home >> Buick >> 2013 >> Verano Base >> Repair and Diagnosis (Single Page) >> Quick Lookups >> Electrical Component Locations >> Electrical Component Locator - Passenger Compartment/Roof Component Views >> Passenger Compartment/Roof Component Views >> Headliner Components

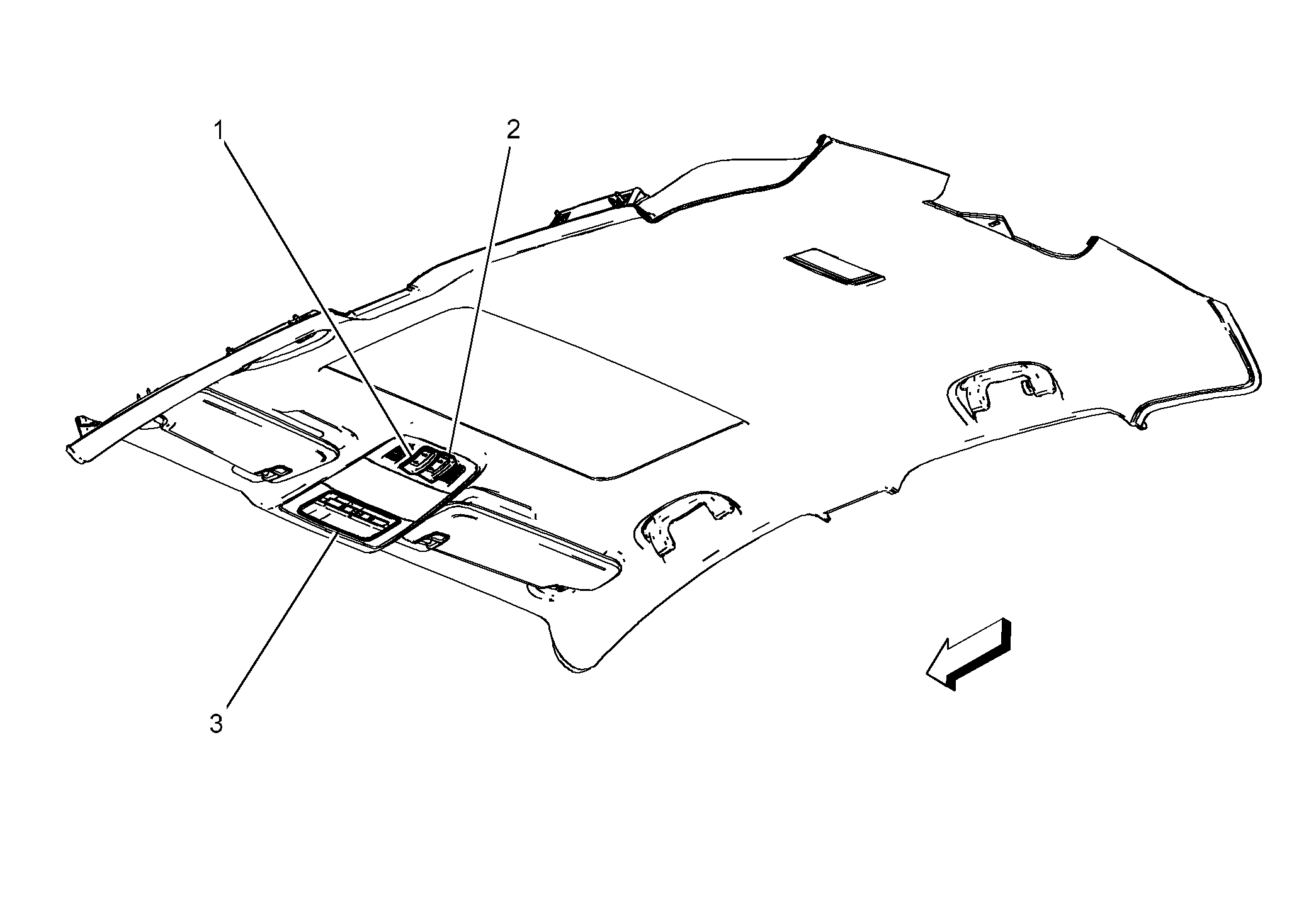
Headliner Components

Headliner Components

Items
1:  S72 Sunroof Switch (CF5) S72 Sunroof Switch (CF5)
2:  S88 Sunroof Tilt Switch (CF5) S88 Sunroof Tilt Switch (CF5)
3:  E37F Dome/Reading Lamps - Front E37F Dome/Reading Lamps - Front
Fig 1: Headliner Components
GM2701372Courtesy of GENERAL MOTORS COMPANY