LEMON Manuals: Even more car manuals for everyone
Home >> Buick >> 2013 >> Encore Base, AWD >> Repair and Diagnosis (Single Page) >> Quick Lookups >> Wiring Diagrams >> Wiring Systems And Power Management - Component Connector End Views - K9 To K20 (X3) >> Component Connector End Views >> K20 Engine Control Module X1 (2H0 with MFH/M7Y/MZ4)

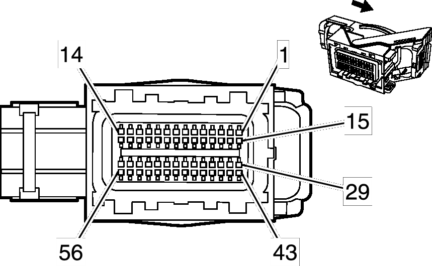
K20 Engine Control Module X1 (2H0 with MFH/M7Y/MZ4)

GM2231651
Connector Part Information
  • Harness Type: Engine
  • OEM Connector: PPI0001003
  • Service Connector: 13395415
  • Description: 56-Way F 0.64 Series (BK)
Terminal Part Information

Terminal Type ID Terminated Lead Diagnostic Test Probe Terminal Removal Tool
I Pending Pending Pending
K20 Engine Control Module X1 (2H0 with MFH/M7Y/MZ4)

Pin Size Color Circuit Function Terminal Type ID Option
1 0.5 BN/WH 419 Check Engine Indicator Control I 2H0
2 0.5 GN/GY 465 Fuel Pump Primary Relay Control I 2H0
3 0.75 VT/BU 5290 Powertrain Main Relay Fused Supply (1) I 2H0
4 0.5 WH/GY 459 A/C Compressor Clutch Relay Control I 2H0
5 0.5 WH/RD 1164 Accelerator Pedal Position 5 Volt Reference (1) I 2H0
6-9 - - - Not Used - -
10 0.5 BU/BU 2500 High Speed GMLAN Serial Data (+) (1) I 2H0
11 0.5 WH/WH 2501 High Speed GMLAN Serial Data (-) (1) I 2H0
12 0.75 RD/WH 140 Battery Positive Voltage I 2H0
13 - - - Not Used - -
14 0.5 VT/GY 139 Run/Crank Ignition 1 Voltage I 2H0
15 0.5 BN/YE 473 High Speed Cooling Fan Relay Control I 2H0
16 0.5 YE/YE 5991 Powertrain Relay Coil Control I 2H0
17-18 - - - Not Used - -
19 0.5 BN/RD 1274 Accelerator Pedal Position 5 Volt Reference (2) I 2H0
20 0.5 BK/BU 1271 Accelerator Pedal Position Low Reference (1) I 2H0
21 0.5 BK/VT 1272 Accelerator Pedal Position Low Reference (2) I 2H0
22 - - - Not Used - -
23 0.5 BK/GY 6110 Clutch Apply Sensor Low Reference I 2H0
24 0.5 BK/VT 2760 Intake Air Temperature Sensor Low Reference I 2H0
25 0.5 WH/BU 6311 Cruise/ETC/TCC Brake Signal I 2H0
26 - - - Not Used - -
27 0.5 GN/GN 6111 Clutch Apply Sensor Signal I 2H0
28 0.5 GN/WH 5007 Reverse Switch Signal I 2H0
29 0.5 YE/BK 625 Starter Enable Relay Control I 2H0
30-31 - - - Not Used - -
32 0.5 GY/RD 6109 Clutch Apply Sensor Voltage Reference I 2H0
33 0.5 BN/RD 2700 A/C Pressure Sensor 5 Volt Reference I 2H0
34-35 - - - Not Used - -
36 0.5 VT/YE 5985 Accessory Wakeup Serial Data I 2H0
37 - - - Not Used - -
38 0.5 BK/GN 6281 Fuel Level Sensor Low Reference I 2H0
39 - - - Not Used - -
40 0.5 YE/WH 1161 Accelerator Pedal Position Signal (1) I 2H0
41 0.5 GN/GN 380 A/C Refrigerant Pressure Sensor Signal I 2H0
42 0.5 GN/WH 1162 Accelerator Pedal Position Signal (2) I 2H0
43 0.5 BU/BU 6814 Thermostat Engine Cool Control I 2H0
44 0.5 GN/VT 335 Low Speed Cooling Fan Relay Control I 2H0
45 0.5 BK/BN 5514 A/C Refrigerant Pressure Sensor Low Reference I 2H0
46 0.5 BK/BU 6813 Coolant Temperature Sensor #2 Low Reference I 2H0
47-49 - - - Not Used - -
50 0.5 GY/BU 48 Clutch Pedal Position Switch Anticipate Signal I 2H0
51 0.5 GN/WH 492 Mass Air Flow Sensor Signal I 2H0
52 0.5 BU/VT 1589 Primary Fuel Level Sensor Signal I 2H0
53 0.5 GN/VT 2032 Coolant Temperature Sensor Signal I 2H0
54 0.5 WH/BU 6289 Induction Air Temperature Sensor Signal I 2H0
55-56 - - - Not Used - -