LEMON Manuals: Even more car manuals for everyone
Home >> Buick >> 2012 >> Regal Base >> Repair and Diagnosis >> External Pages >> Different car >> Section 421 (Wiring Systems And Power Management - Component Connector End Views - K36 (X2) To M72) >> Component Connector End Views >> K71 Transmission Control Module X2 (MDK)

K71 Transmission Control Module X2 (MDK)

WARNING: This page is about a different car, the 2013 Buick Regal. However, it is still accessible from the selected car via links, so may be relevant.
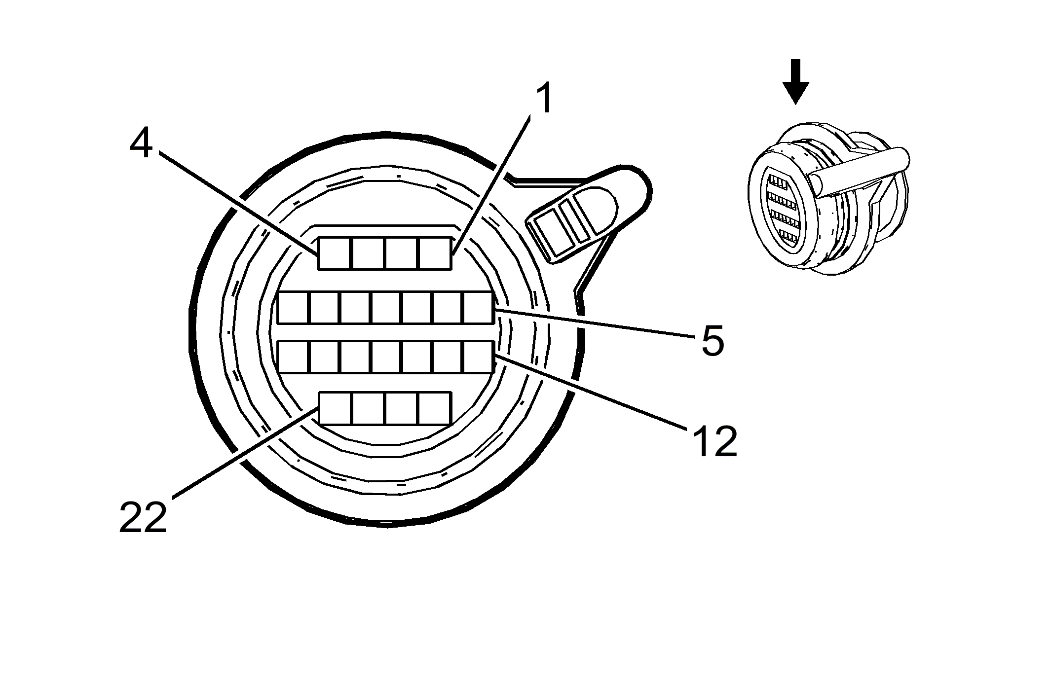
GM2500427
Connector Part Information
  • Harness: Automatic Transmission
  • OEM: 7136-1466-40
  • Service: Service by Harness - See Part Catalog
  • Description: 22-Way F
Terminal Part Information

Terminal Type ID Terminated Lead Diagnostic Test Probe Terminal Removal Tool Service Terminal Tray Core Crimp Insulation Crimp
I Service by Harness - See Part Catalog Pending Not Available Not Available Not Available Not Available Not Available
K71 Transmission Control Module X2 (MDK)

Pin Size Color Circuit Function Terminal Type ID Option
1 - - - Low Reference I -
2 - - - Shift Solenoid 2 Control I -
3 - - - Line Pressure Control Solenoid Valve Control I -
4 - - - Low Reference I -
5 - - - Shift Solenoid 1 Control I -
6 - - - Not Occupied - -
7 - - - Low Reference I -
8 - - - Transmission Fluid Temperature Sensor Signal I -
9 - - - Torque Converter Clutch Pressure Control Solenoid Valve Control I -
10 - - - Low Reference I -
11 - - - Pressure Control Solenoid Valve 1 Control I -
12 - - - Transmission Input Shaft Speed Sensor High Signal I -
13 - - - Transmission Input Shaft Speed Sensor Low Signal I -
14 - - - Pressure Control Solenoid Valve 3 Control I -
15 - - - Not Occupied - -
16 - - - Low Reference I -
17 - - - Pressure Control Solenoid Valve 2 Control I -
18 - - - Low Reference I -
19 - - - Transmission Output Shaft Speed Sensor High Signal I -
20 - - - Transmission Output Shaft Speed Sensor Low Signal I -
21 - - - Pressure Control Solenoid Valve 4 Control I -
22 - - - Low Reference I -