LEMON Manuals: Even more car manuals for everyone
Home >> Buick >> 2012 >> Regal Base >> Repair and Diagnosis >> External Pages >> Different car >> Section 224 (Keyless Entry System And Remote Functions) >> Wiring Schematics >> Remote Function Wiring Schematics

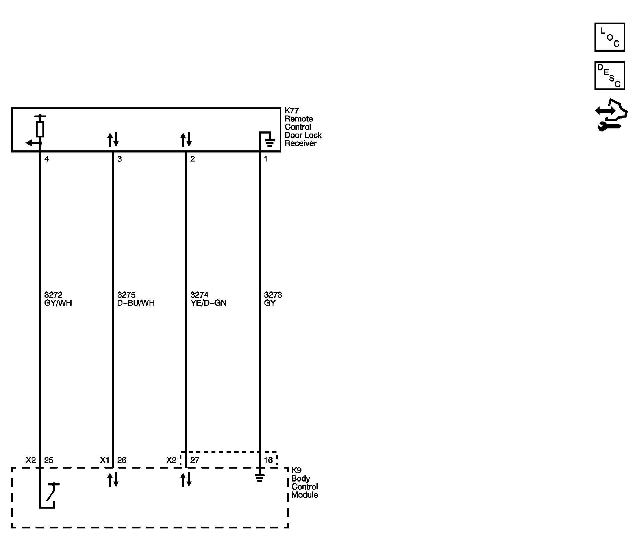
Remote Function Wiring Schematics

WARNING: This page is about a different car, the 2011 Buick Regal. However, it is still accessible from the selected car via links, so may be relevant.
Fig 1: Keyless Entry Wiring Schematic
GM2376620Courtesy of GENERAL MOTORS CORP.