LEMON Manuals: Even more car manuals for everyone
Home >> Buick >> 2012 >> Regal Base >> Repair and Diagnosis >> External Pages >> Different car >> Section 179 (Wiring Systems And Power Management - Component Connector End Views - A3L Through B62) >> Component Connector End Views >> B24 Cellular Phone Microphone Connector End View

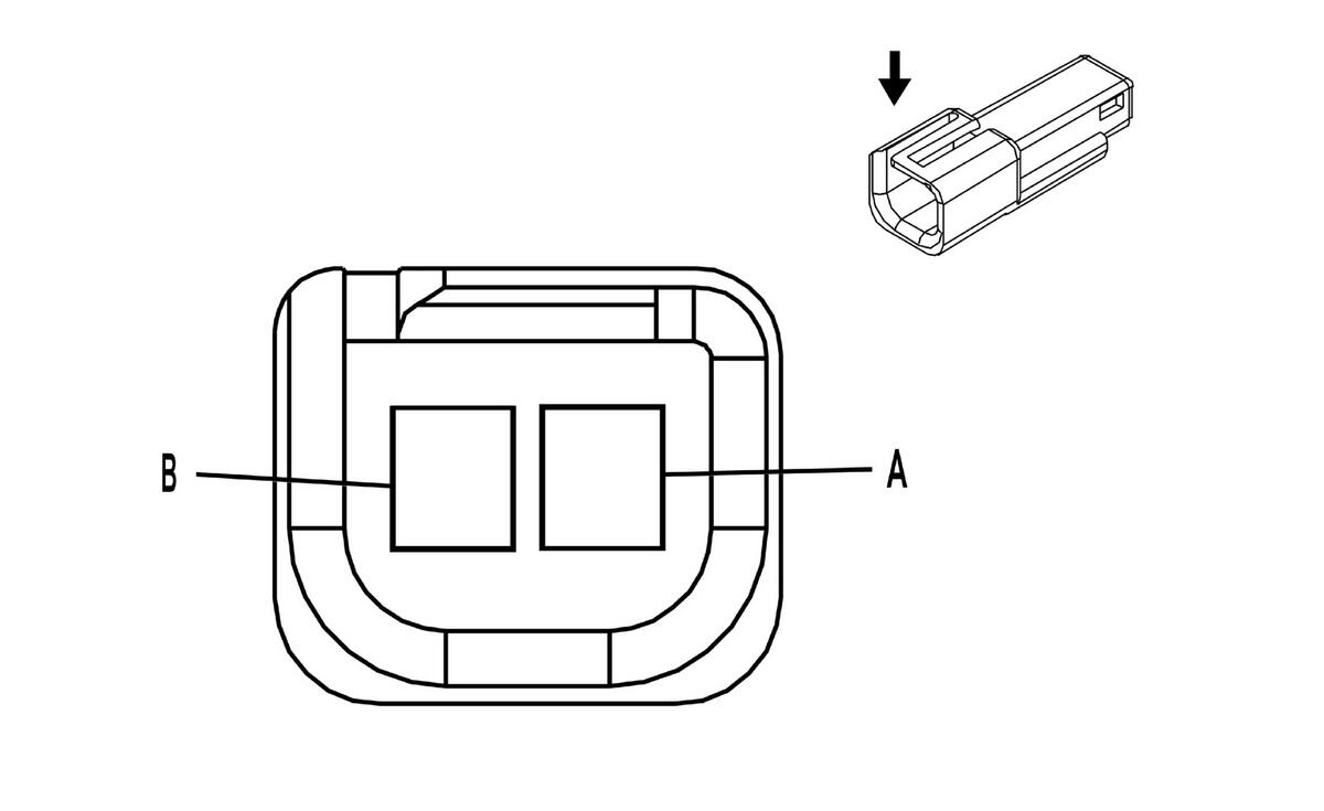
B24 Cellular Phone Microphone Connector End View

WARNING: This page is about a different car, the 2011 Buick Regal. However, it is still accessible from the selected car via links, so may be relevant.
Fig 1: B24 Cellular Phone Microphone Connector End View
GM2179758Courtesy of GENERAL MOTORS CORP.
B24 Cellular Phone Microphone

Pin Color Circuit Function
A 0.5 BARE 654 Low Reference
B 0.5 D-BU 655 Cellular Telephone Microphone Signal
Connector Part Information 
  • Harness Type: Headliner
  • OEM Connector: 90565972
  • Service Connector: 12085481
  • Description: 2-Way M Metri-Pack 150 Series (BK)
Terminal Part Information 
  • Terminated Lead: Pending
  • Release Tool: 12094429
  • Diagnostic Test Probe: J-35616-3 (GY)
  • Terminal/Tray: 12047581/2
  • Core/Insulation Crimp: E/C