LEMON Manuals: Even more car manuals for everyone
Home >> Buick >> 2012 >> Regal Base >> Repair and Diagnosis >> External Pages >> Different car >> Section 179 (Wiring Systems And Power Management - Component Connector End Views - A3L Through B62) >> Component Connector End Views >> A23P Door Latch Assembly - Passenger Connector End View

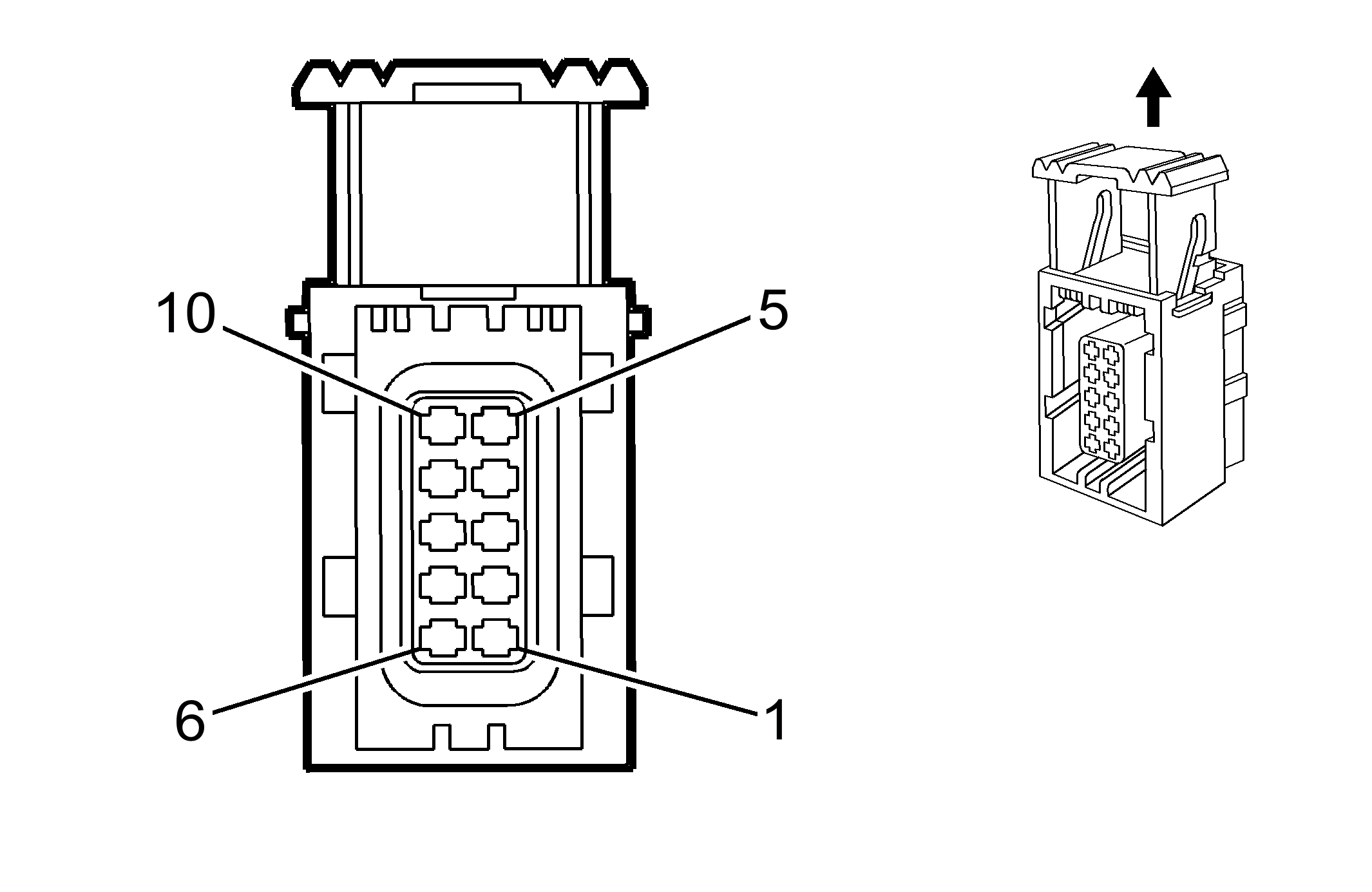
A23P Door Latch Assembly - Passenger Connector End View

WARNING: This page is about a different car, the 2011 Buick Regal. However, it is still accessible from the selected car via links, so may be relevant.
Fig 1: A23P Door Latch Assembly - Passenger Connector End View
GM2173899Courtesy of GENERAL MOTORS CORP.
A23P Door Latch Assembly - Passenger

Pin Color Circuit Function
1 0.5 GY 746 Right Front Door Ajar Switch Signal
2 - - Not Used
3 0.75 BK 2050 Ground
4-5 - - Not Used
6 0.75 BN 5910 Door Double Lock Actuator Lock Control
7 0.75 BN/YE 294 Door Lock Actuator Unlock Control
8 0.75 WH/RD 295 Door Lock Actuator Lock Control
9-10 - - Not Used
Connector Part Information 
  • Harness Type: Passenger Door
  • OEM Connector: 24414904
  • Service Connector: 24414904
  • Description: 10-Way F 1.2 Timer Micro II Series, Sealed (BK)
Terminal Part Information 
  • Terminated Lead: Pending
  • Release Tool: J-38125-560
  • Diagnostic Test Probe: J-35616-14 (GN)
  • Terminal/Tray: 964274-2/16
  • Core/Insulation Crimp: E/1