LEMON Manuals: Even more car manuals for everyone
Home >> Buick >> 2012 >> Enclave AWD >> Repair and Diagnosis >> Quick Lookups >> Wiring Diagrams >> Wiring Systems And Power Management - Component Connector End Views - Memory Seat Module X5 To Yaw Sensor >> Component Connector End Views >> Window Motor - Driver (AXE)

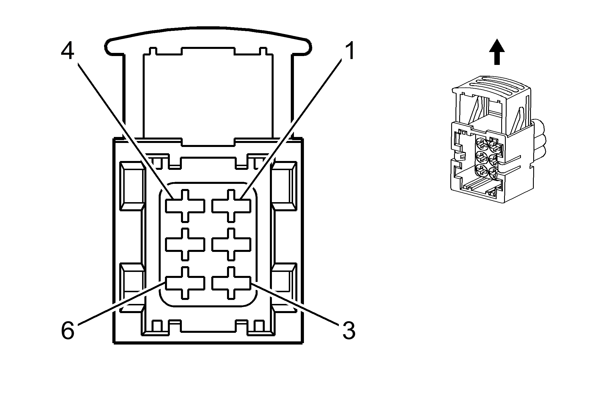
Window Motor - Driver (AXE)

GM1664554Courtesy of
Connector Part Information
  • Harness Type: Driver Door
  • OEM Connector: 2-1355696-1
  • Service Connector: 88988401
  • Description: 6-Way F Timer Jr-Power Series, Sealed (GY)
Terminal Part Information
  • Pins: 1, 4
  • Terminated Lead: Pending
  • Release Tool: J-38125-36
  • Diagnostic Test Probe: J-35616-35 (VT)
  • Terminal/Tray: 4-964273-1/15
  • Core/Insulation Crimp: C/5
  • Pins: 6
  • Terminated Lead: Pending
  • Release Tool: J-38125-36
  • Diagnostic Test Probe: J-35616-35 (VT)
  • Terminal/Tray: 4-964286-1/16
  • Core/Insulation Crimp: E/1
Window Motor - Driver (AXE)

Pin Wire Circuit Function
1 2 RD/WH 3340 Battery Positive Voltage
2-3 - - Not Used
4 2 BK 550 Ground
5 - - Not Used
6 0.35 BN 6132 Linear Interconnect Network Bus