LEMON Manuals: Even more car manuals for everyone
Home >> Buick >> 2012 >> Enclave AWD >> Repair and Diagnosis >> Quick Lookups >> Wiring Diagrams >> Wiring Systems And Power Management - Component Connector End Views - Memory Seat Module X5 To Yaw Sensor >> Component Connector End Views >> Starter Motor X2

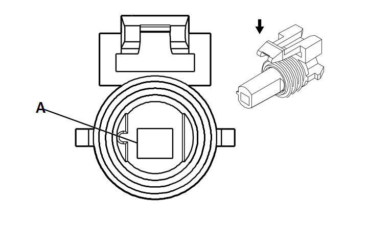
Starter Motor X2

GM696940Courtesy of
Connector Part Information
  • Harness Type: Engine
  • OEM Connector: 12089916
  • Service Connector: 13584479
  • Description: 1-Way F Metri-Pack 280 Series, Sealed (GY)
Terminal Part Information
  • Terminated Lead: Pending
  • Release Tool: J-38125-11A
  • Diagnostic Test Probe: J-35616-4A (PU)
  • Terminal/Tray: 12129493/2
  • Core/Insulation Crimp: 4/5
Starter Motor X2

Pin Wire Circuit Function
A 3 PU 6 Starter Solenoid Crank Voltage