LEMON Manuals: Even more car manuals for everyone
Home >> Buick >> 2012 >> Enclave AWD >> Repair and Diagnosis >> Quick Lookups >> Wiring Diagrams >> Wiring Systems And Power Management - Component Connector End Views - Memory Seat Module X5 To Yaw Sensor >> Component Connector End Views >> Speaker - Right Front Tweeter

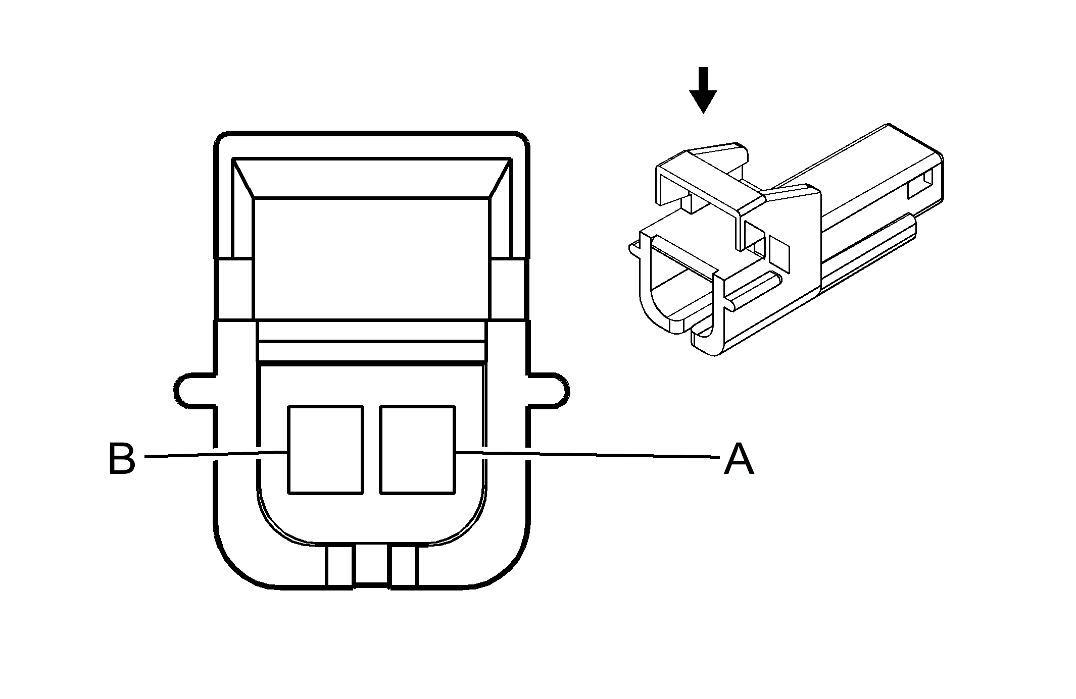
Speaker - Right Front Tweeter

GM766913Courtesy of
Connector Part Information
  • Harness Type: Body
  • OEM Connector: 12052833
  • Service Connector: 12117275
  • Description: 2-Way M Metri-Pack 150 Series (BK)
Terminal Part Information
  • Terminated Lead: 13505668
  • Release Tool: J-38125-12A
  • Diagnostic Test Probe: J-35616-3 (GY)
  • Terminal/Tray: 12047581/2
  • Core/Insulation Crimp: E/A
Speaker - Right Front Tweeter

Pin Wire Circuit Function
A 0.8 D-GN 117 Right Front Speaker Output (-)
B 0.8 L-GN 200 Right Front Speaker Output (+)