LEMON Manuals: Even more car manuals for everyone
Home >> Buick >> 2012 >> Enclave AWD >> Repair and Diagnosis >> Quick Lookups >> Wiring Diagrams >> Wiring Systems And Power Management - Component Connector End Views - Memory Seat Module X5 To Yaw Sensor >> Component Connector End Views >> Speaker - Right Front (UQF)

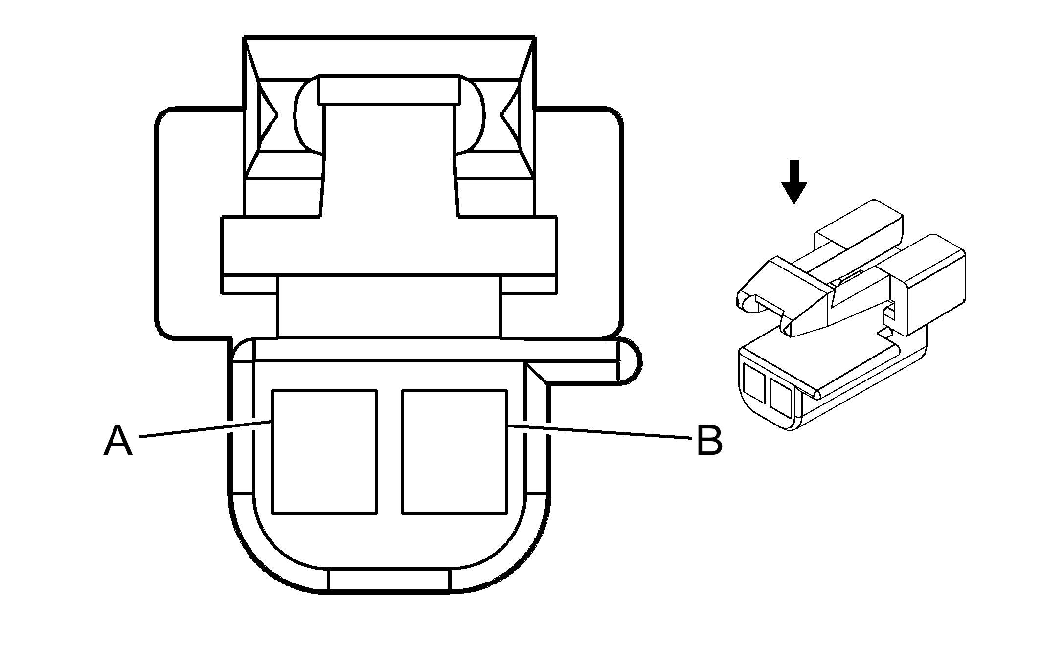
Speaker - Right Front (UQF)

GM130687Courtesy of
Connector Part Information
  • Harness Type: Passenger Door
  • OEM Connector: 12064867
  • Service Connector: 88987981
  • Description: 2-Way F Metri-Pack 150 Series (NA)
Terminal Part Information
  • Terminated Lead: Pending
  • Release Tool: J-38125-12A
  • Diagnostic Test Probe: J-35616-14 (GN)
  • Terminal/Tray: 15326030/2
  • Core/Insulation Crimp: E/A
Speaker - Right Front (UQF)

Pin Wire Circuit Function
A 0.8 D-GN 117 Right Front Speaker Output (-)
B 0.8 L-GN 200 Right Front Speaker Output (+)