LEMON Manuals: Even more car manuals for everyone
Home >> Buick >> 2012 >> Enclave AWD >> Repair and Diagnosis (Single Page) >> Quick Lookups >> Wiring Diagrams >> Wiring Systems And Power Management - Component Connector End Views - Memory Seat Module X5 To Yaw Sensor >> Component Connector End Views >> Theft Deterrent Module (TDM)

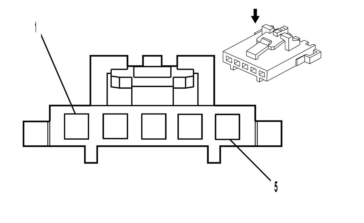
Theft Deterrent Module (TDM)

GM1593355Courtesy of
Connector Part Information
  • Harness Type: Steering Column
  • OEM Connector: 50-57-9705
  • Service Connector: 88988353
  • Description: 5-Way F 2.54mm SL Series (BK)
Terminal Part Information
  • Terminated Lead: Service by Harness - See Part Catalog
  • Release Tool: J-38125-213
  • Diagnostic Test Probe: J-35616-64B (L-BU)
  • Terminal/Tray: 16-02-1110/20
  • Core/Insulation Crimp: H/H
Theft Deterrent Module (TDM)

Pin Wire Circuit Function
1 0.35 RD/WH 1040 Battery Positive Voltage
2 0.35 BN 4 Ignition Voltage
3 0.35 BK/WH 1551 Ground
4 - - Not Used
5 0.35 D-GN 5060 Low Speed GMLAN Serial Data