LEMON Manuals: Even more car manuals for everyone
Home >> Buick >> 2012 >> Enclave AWD >> Repair and Diagnosis (Single Page) >> Quick Lookups >> Wiring Diagrams >> Wiring Systems And Power Management - Component Connector End Views - Memory Seat Module X5 To Yaw Sensor >> Component Connector End Views >> Rearview Camera (UVC)

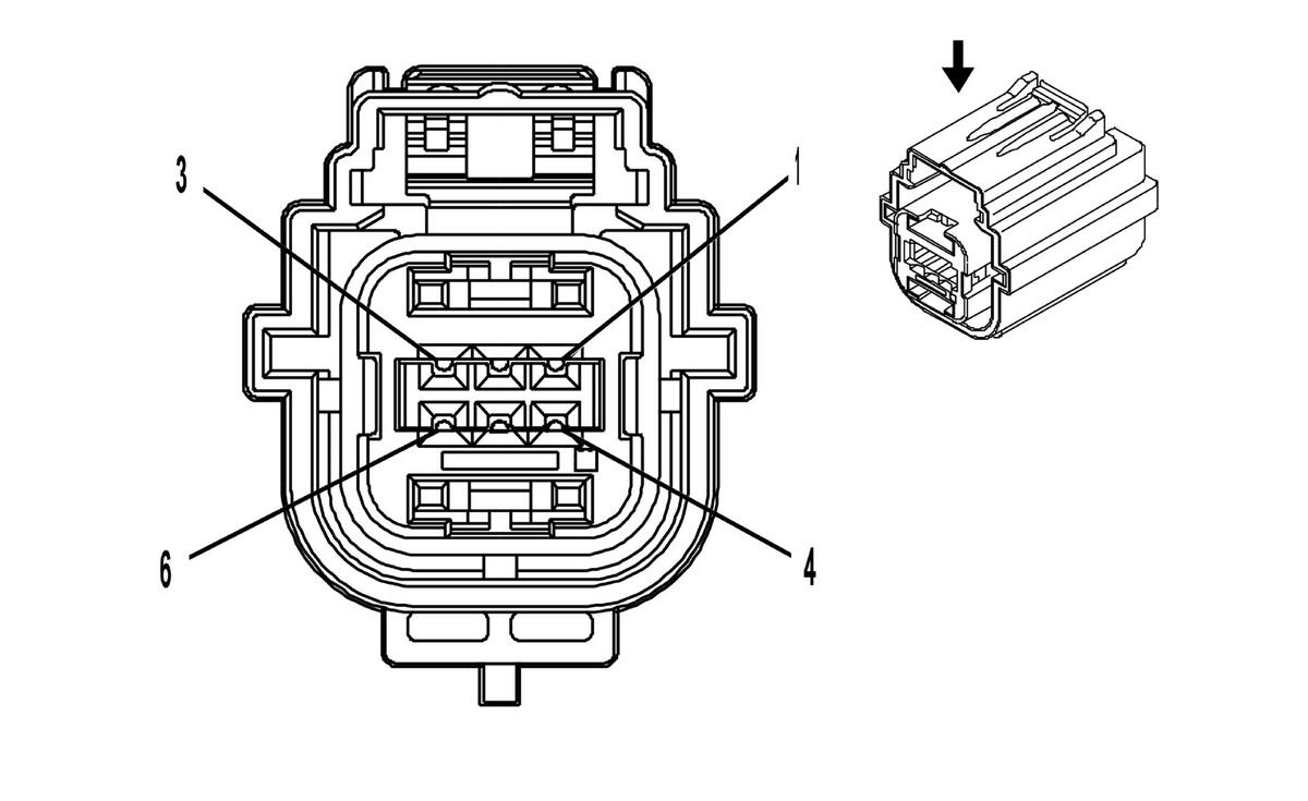
Rearview Camera (UVC)

GM2133378Courtesy of
Connector Part Information
  • Harness Type: Liftgate
  • OEM Connector: 1924212-1
  • Service Connector: Service by Harness - See Part Catalog
  • Description: 6-Way F 0.64 Series Sealed (GY)
Terminal Part Information
  • Terminated Lead: 13575867
  • Release Tool: J-38125-215A
  • Diagnostic Test Probe: J-35616-64B (L-BU)
  • Terminal/Tray: SAIT-A03T-M064/14
  • Core/Insulation Crimp: P/P
Rearview Camera (UVC)

Pin Wire Circuit Function
1 0.35 PK 6972 Camera Signal 2 (+)
2 0.35 BARE 6974 Camera Shield
3 0.35 D-BU 38 Backup Lamp Relay Control
4 0.35 L-BU 6973 Low Reference
5 0.35 BK 650 Ground
6 0.35 PK/BK 239 Ignition Voltage