LEMON Manuals: Even more car manuals for everyone
Home >> Buick >> 2012 >> Enclave AWD >> Repair and Diagnosis (Single Page) >> Quick Lookups >> Wiring Diagrams >> Wiring Systems And Power Management - Component Connector End Views - Engine Cooling Fan (Right) To Memory Seat Module X4 >> Component Connector End Views >> Fuel Pump Flow Control Module

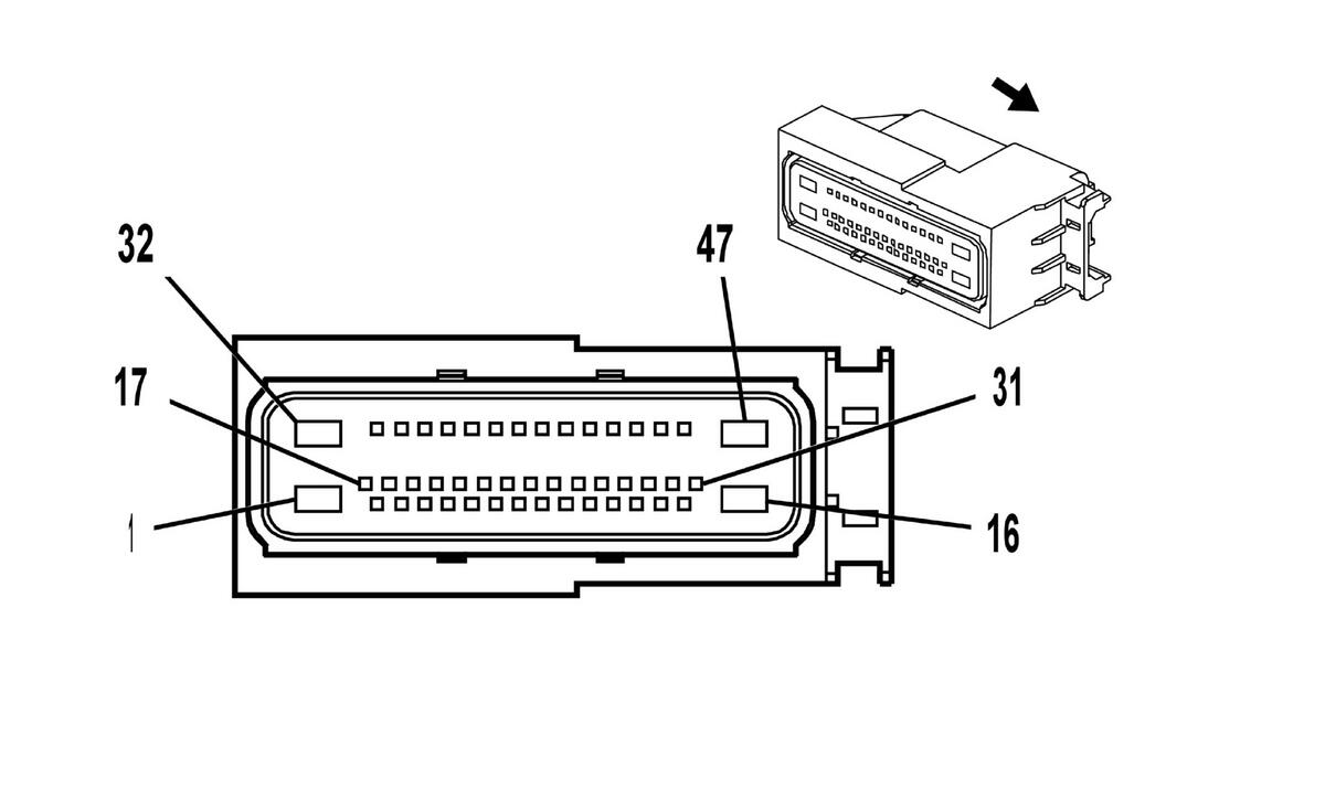
Fuel Pump Flow Control Module

GM1711002Courtesy of
Connector Part Information
  • Harness: Rear Chassis
  • OEM Connector: ASGPB-1547R2A-K
  • Service Connector: 89047377
  • Description: 47-Way F ASG Series (BK)
Terminal Part Information
  • Pins: 1, 16, 32, 47
  • Terminated Lead: Pins: 1, 32: 13579754
  • Terminated Lead: Pins: 16, 47: 13327187
  • Release Tool: J-38125-553
  • Diagnostic Test Probe: J-35616-42 (RD)
  • Terminal/Tray: 15476168/5
  • Core/Insulation Crimp: F/3
  • Pins: 5-7, 10, 13, 15, 17, 21, 22, 36, 44
  • Terminated Lead: Pending
  • Release Tool: J-38125-215A
  • Diagnostic Test Probe: J-35616-64B (L-BU)
  • Terminal/Tray: SAITS-A03T-M064/14
  • Core/Insulation Crimp: 9/9
Fuel Pump Flow Control Module

Pin Wire Circuit Function
1 3 BK 650 Ground
2-4 - - Not Available
5 0.35 GY 7447 Low Reference
6 0.35 TN 2501 High Speed GMLAN Serial Data -
7 0.35 TN/BK 2500 High Speed GMLAN Serial Data +
8-9 - - Not Available
10 0.35 PU 7446 Fuel Line Pressure Sensor Signal
11-12 - - Not Available
13 0.35 D-GN/WH 465 Fuel Pump Relay Control
14 - - Not Available
15 0.35 PK 439 Ignition Voltage
16 2 PK 1580 Low Reference
17 0.35 L-BU 5986 Serial Data Communication Enable
18-20 - - Not Available
21 0.35 TN 2501 High Speed GMLAN Serial Data -
22 0.35 TN/BK 2500 High Speed GMLAN Serial Data +
23-31 - - Not Available
32 3 RD/WH 2940 Battery Positive Voltage
33-35 - - Not Available
36 0.35 BN 7445 5-Volt Reference
37-43 - - Not Available
44 0.5 GY 7443 Drain Wire
45-46 - - Not Available
47 2 GY 120 Fuel Pump Voltage