LEMON Manuals: Even more car manuals for everyone
Home >> Buick >> 2012 >> Enclave AWD >> Repair and Diagnosis (Single Page) >> Electrical >> Body Electrical >> Wiring Systems And Power Management - Component Connector End Views - Memory Seat Module X5 To Yaw Sensor >> Component Connector End Views >> Sunload Sensor (CJ2)

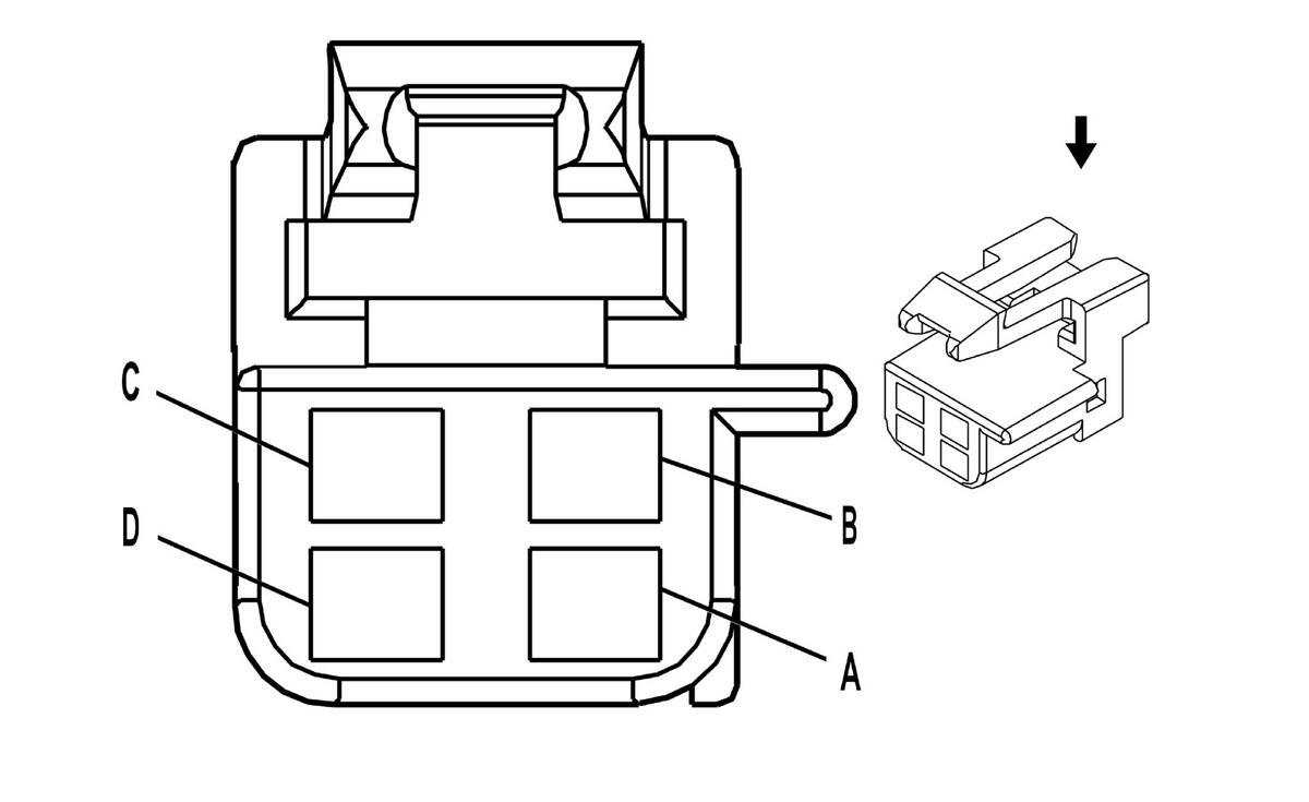
Sunload Sensor (CJ2)

GM130637Courtesy of
Connector Part Information
  • Harness Type: Instrument Panel
  • OEM Connector: 12064760
  • Service Connector: 13584477
  • Description: 4-Way F Metri-Pack 150 Series (BK)
Terminal Part Information
  • Terminated Lead: 13575464
  • Release Tool: J-38125-12A
  • Diagnostic Test Probe: J-35616-14 (GN)
  • Terminal/Tray: 15326030/5
  • Core/Insulation Crimp: E/C
Sunload Sensor (CJ2)

Pin Wire Circuit Function
A 0.35 L-BU/BK 590 Driver Sunload Sensor Signal
B 0.35 GY 1548 Passenger Sunload Sensor Signal
C 0.35 BK/WH 1551 Ground
D 0.35 L-GN/BK 1137 DRL Ambient Light Sensor Signal