LEMON Manuals: Even more car manuals for everyone
Home >> Buick >> 2005 >> Park Avenue Base >> Repair and Diagnosis >> Engine Performance >> System >> Engine Control System - Introduction >> Repair Instructions >> Accelerator Controls Pedal Replacement >> Installation Procedure

Installation Procedure

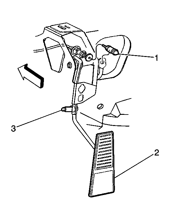
    Fig 1: Removing/Installing Accelerator Pedal
    GM65341Courtesy of GENERAL MOTORS CORP.
  1. Install the accelerator pedal (2) to the brake and accelerator pedal assembly.
  2. Install the plastic retainer inside the pedal.
  3. Install the E-clip onto the pedal.
  4. Install the accelerator control cable (1) to the pedal by pulling the pedal straight out and down towards the top of the pedal.
    IMPORTANT: The throttle should operate freely without binding between full closed and wide open throttle (WOT).
  5. Check for complete throttle opening and closing positions by operating the accelerator pedal. Also check for poor carpet fit under the accelerator pedal.
  6. Install the left closeout/insulator panel. Refer to Closeout/Insulator Panel Replacement - Left in Instrument Panel, Gages and Console.