LEMON Manuals: Even more car manuals for everyone
Home >> Buick >> 2005 >> Park Avenue Base >> Repair and Diagnosis >> Engine Performance >> System >> Engine Control System - Introduction >> Component Locator >> Engine Controls Connector End Views

Engine Controls Connector End Views

Camshaft Position (CMP) Sensor

GM73223Courtesy of GENERAL MOTORS CORP.
Connector Part Information
  • 12162272
  • 3-Way F Metri-Pack 150.1 Series (GRY)
Pin Wire Color Circuit No. Function
A BRN/WHT 633 CMP Sensor Signal
B BLK/WHT 836 Low Reference
C WHT/BLK 644 12-Volt Reference
Crankshaft Position (CKP) Sensor

GM280765Courtesy of GENERAL MOTORS CORP.
Connector Part Information
  • 12162724
  • 4-Way F Metri-Pack 150 Series (GRY)
Pin Wire Color Circuit No. Function
A LT BLU/WHT 1800 CKP Sensor 2 Signal
B YEL 573 CKP Sensor 1 Signal
C BLK/WHT 836 Low Reference
D WHT/BLK 644 12-Volt Reference
Engine Coolant Temperature (ECT) Sensor

GM518983Courtesy of GENERAL MOTORS CORP.
Connector Part Information
  • 12162192
  • 2-Way F Metri-Pack 150 Series (BLK)
Pin Wire Color Circuit No. Function
A ORN/BLK 469 Low Reference
B YEL 410 ECT Sensor Signal
Engine Oil Level Switch

GM35437Courtesy of GENERAL MOTORS CORP.
Connector Part Information
  • 12052635
  • 2-Way F Metri-Pack 150 Series (BLK)
Pin Wire Color Circuit No. Function
A BRN 1174 Oil Level Switch Signal
B BLK/WHT 51 Ground
Engine Oil Pressure (EOP) Sensor

GM258299Courtesy of GENERAL MOTORS CORP.
Connector Part Information
  • 12065286
  • 3-Way F Metri-Pack 150 Series (BLK)
Pin Wire Color Circuit No. Function
A BLK 808 Low Reference
B GRY 605 5-Volt Reference
C TAN/WHT 332 Oil Pressure Sensor Signal
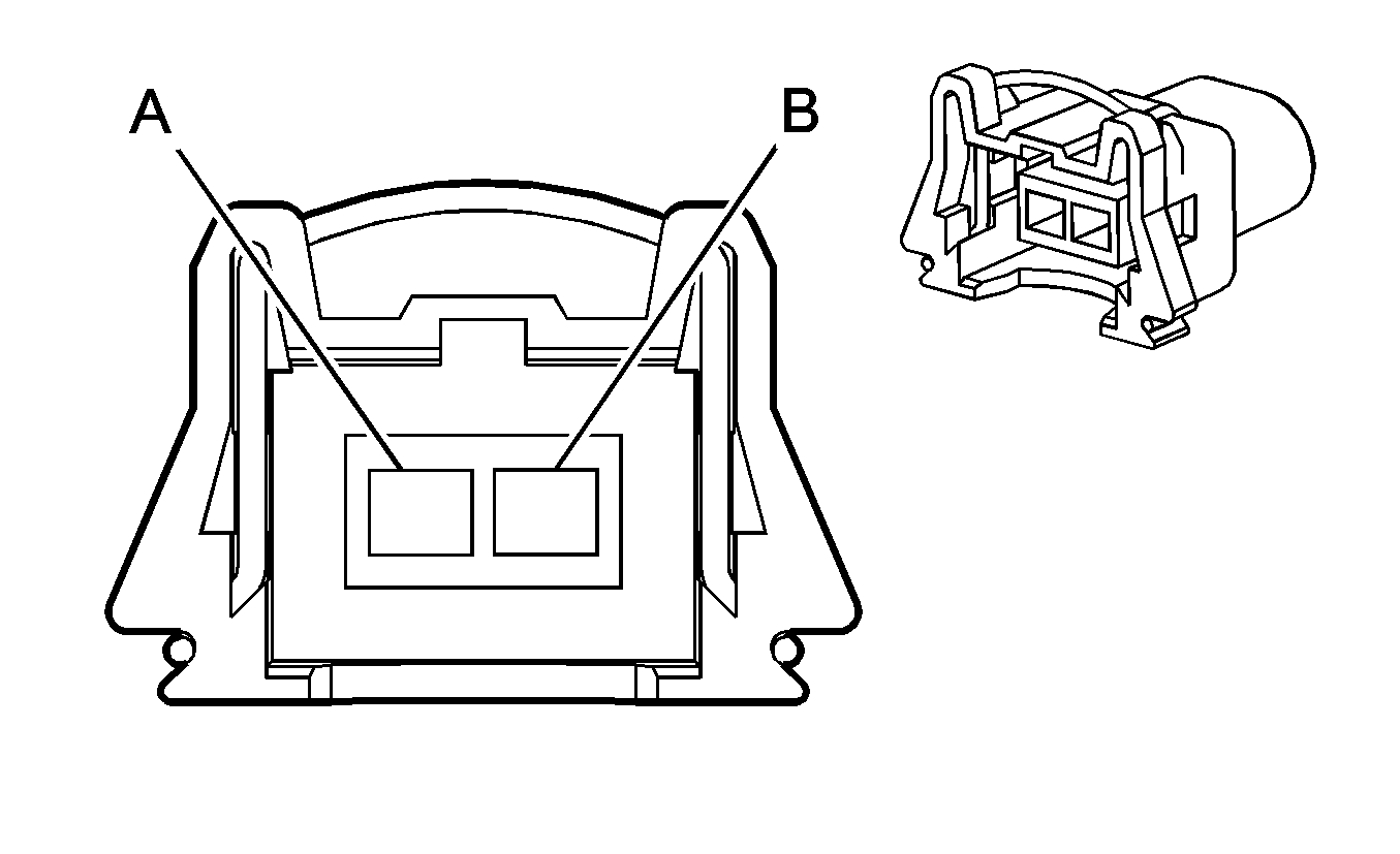
Evaporative Emissions (EVAP) Canister Purge Solenoid

GM35437Courtesy of GENERAL MOTORS CORP.
Connector Part Information
  • 12124036
  • 2-Way F Metri-Pack 150 Series (BLK)
Pin Wire Color Circuit No. Function
A PNK 239 Ignition 1 Voltage
B DK GRN/WHT 428 EVAP Canister Purge Solenoid Control
Evaporative Emissions (EVAP) Canister Vent Solenoid

GM35437Courtesy of GENERAL MOTORS CORP.
Connector Part Information
  • 12052637
  • 2-Way F Metri-Pack 150 Series, Sealed (RED)
Pin Wire Color Circuit No. Function
A PNK 39 Ignition 1 Voltage
B WHT 1310 EVAP Canister Vent Solenoid Control
Exhaust Gas Recirculation (EGR) Valve

GM68773Courtesy of GENERAL MOTORS CORP.
Connector Part Information
  • 12186055
  • 5-Way F Metri-Pack 150 Series (BLK)
Pin Wire Color Circuit No. Function
A GRY 435 EGR Solenoid Low Control
B BLK 552 Low Reference
C BRN 1456 EGR Valve Position Signal
D GRY 605 5-Volt Reference
E WHT 257 EGR Solenoid High Control
Fuel Injector 1 (L36)

GM366123Courtesy of GENERAL MOTORS CORP.
Connector Part Information
  • 15326181
  • 2-Way F Micro-Pack 64 Series, Sealed (BLK)
Pin Wire Color Circuit No. Function
A PNK 1039 Ignition 1 Voltage
B BLK 1744 Fuel Injector 1 Control
Fuel Injector 2 (L36)

GM366123Courtesy of GENERAL MOTORS CORP.
Connector Part Information
  • 15326181
  • 2-Way F Micro-Pack 64 Series, Sealed (BLK)
Pin Wire Color Circuit No. Function
A PNK 1039 Ignition 1 Voltage
B LT GRN/BLK 1745 Fuel Injector 2 Control
Fuel Injector 3 (L36)

GM366123Courtesy of GENERAL MOTORS CORP.
Connector Part Information
  • 15326181
  • 2-Way F Micro-Pack 64 Series, Sealed (BLK)
Pin Wire Color Circuit No. Function
A PNK 1039 Ignition 1 Voltage
B PNK/BLK 1746 Fuel Injector 3 Control
Fuel Injector 4 (L36)

GM366123Courtesy of GENERAL MOTORS CORP.
Connector Part Information
  • 15326181
  • 2-Way F Micro-Pack 64 Series, Sealed (BLK)
Pin Wire Color Circuit No. Function
A PNK 1039 Ignition 1 Voltage
B LT BLU/BLK 844 Fuel Injector 4 Control
Fuel Injector 5 (L36)

GM366123Courtesy of GENERAL MOTORS CORP.
Connector Part Information
  • 15326181
  • 2-Way F Micro-Pack 64 Series, Sealed (BLK)
Pin Wire Color Circuit No. Function
A PNK 1039 Ignition 1 Voltage
B BLK/WHT 845 Fuel Injector 5 Control
Fuel Injector 6 (L36)

GM366123Courtesy of GENERAL MOTORS CORP.
Connector Part Information
  • 15326181
  • 2-Way F Micro-Pack 64 Series, Sealed (BLK)
Pin Wire Color Circuit No. Function
A PNK 1039 Ignition 1 Voltage
B YEL/BLK 846 Fuel Injector 6 Control
Fuel Injector 1 (L67)

GM258295Courtesy of GENERAL MOTORS CORP.
Connector Part Information
  • 12065454
  • 2-Way F Metri-Pack 280.1 Series, Sealed (BLK)
Pin Wire Color Circuit No. Function
A PNK 1039 Ignition 1 Voltage
B BLK 1744 Fuel Injector 1 Control
Fuel Injector 2 (L67)

GM258295Courtesy of GENERAL MOTORS CORP.
Connector Part Information
  • 12065454
  • 2-Way F Metri-Pack 280.1 Series, Sealed (BLK)
Pin Wire Color Circuit No. Function
A PNK 1039 Ignition 1 Voltage
B LT GRN/BLK 1745 Fuel Injector 2 Control
Fuel Injector 3 (L67)

GM258295Courtesy of GENERAL MOTORS CORP.
Connector Part Information
  • 12065454
  • 2-Way F Metri-Pack 280.1 Series, Sealed (BLK)
Pin Wire Color Circuit No. Function
A PNK 1039 Ignition 1 Voltage
B PNK/BLK 1746 Fuel Injector 3 Control
Fuel Injector 4 (L67)

GM258295Courtesy of GENERAL MOTORS CORP.
Connector Part Information
  • 12065454
  • 2-Way F Metri-Pack 280.1 Series, Sealed (BLK)
Pin Wire Color Circuit No. Function
A PNK 1039 Ignition 1 Voltage
B LT BLU/BLK 844 Fuel Injector 4 Control
Fuel Injector 5 (L67)

GM258295Courtesy of GENERAL MOTORS CORP.
Connector Part Information
  • 12065454
  • 2-Way F Metri-Pack 280.1 Series, Sealed (BLK)
Pin Wire Color Circuit No. Function
A PNK 1039 Ignition 1 Voltage
B BLK/WHT 845 Fuel Injector 5 Control
Fuel Injector 6 (L67)

GM258295Courtesy of GENERAL MOTORS CORP.
Connector Part Information
  • 12065454
  • 2-Way F Metri-Pack 280.1 Series, Sealed (BLK)
Pin Wire Color Circuit No. Function
A PNK 1039 Ignition 1 Voltage
B YEL/BLK 846 Fuel Injector 6 Control
Fuel Pump and Sender Assembly

GM258300Courtesy of GENERAL MOTORS CORP.
Connector Part Information
  • 12160479
  • 4-Way F Metri-Pack 150 Series, Sealed (BLK)
Pin Wire Color Circuit No. Function
A PPL 30 Fuel Level Sensor Signal
B GRY 120 Fuel Pump Supply Voltage
C BLK 650 Ground
D BLK/WHT 651 Ground
Fuel Tank Pressure (FTP) Sensor

GM62453Courtesy of GENERAL MOTORS CORP.
Connector Part Information
  • 12059596
  • 3-Way F Metri-Pack 150 Series, Sealed (BLK)
Pin Wire Color Circuit No. Function
A BLK 808 Low Reference
B DK GRN 890 Fuel Tank Pressure Sensor Signal
C GRY 605 5-Volt Reference
Heated Oxygen Sensor (HO2S) Sensor 1

GM258300Courtesy of GENERAL MOTORS CORP.
Connector Part Information
  • 12160479
  • 4-Way F Metri-Pack 150 Series, Sealed (BLK)
Pin Wire Color Circuit No. Function
A TAN 413 Low Reference
B PPL 412 HO2S 1 High Signal
C BLK 3113 HO2S Heater Low Control
D PNK 639 Ignition 1 Voltage
Heated Oxygen Sensor (HO2S) Sensor 2

GM280761Courtesy of GENERAL MOTORS CORP.
Connector Part Information
  • 12160825
  • 4-Way M Metri-Pack 150 Series (BLK)
Pin Wire Color Circuit No. Function
A TAN 413 Low Reference
B PPL/WHT 1668 HO2S 2 High Signal
C BLK 3122 HO2S Heater Low Control
D PNK 639 Ignition 1 Voltage
Idle Air Control (IAC) Valve

GM38608Courtesy of GENERAL MOTORS CORP.
Connector Part Information
  • 12162187
  • 4-Way F Metri-Pack 150.2 Series, Sealed (BLK)
Pin Wire Color Circuit No. Function
A LT GRN/BLK 444 IAC Coil B Low Control
B LT GRN/WHT 1749 IAC Coil B High Control
C LT BLU/BLK 1748 IAC Coil A Low Control
D LT BLU/WHT 1747 IAC Coil A High Control
Ignition Control Module (ICM)

GM302002Courtesy of GENERAL MOTORS CORP.
Connector Part Information
  • 12052493
  • 14-Way F Metri-Pack 150 Series, Sealed (DK GRY)
Pin Wire Color Circuit No. Function
A WHT 423 IC Timing Control
B TAN/BLK 424 IC Timing Signal
C LT BLU/BLK 647 Medium Resolution Engine Speed Signal
D PPL/WHT 430 Low Resolution Engine Speed Signal
E WHT 121 Engine Speed Signal
F BLK 630 Camshaft Position Signal
G YEL 573 CKP Sensor 1 Signal
H LT BLU/WHT 1800 CKP Sensor 2 Signal
J BRN/WHT 633 CMP Sensor Signal
K BLK/WHT 451 Ground
L RED/BLK 453 Low Reference
M BLK/WHT 836 Low Reference
N WHT/BLK 644 12-Volt Reference
P PNK 839 Ignition 1 Voltage
Intake Air Temperature (IAT) Sensor

GM68719Courtesy of GENERAL MOTORS CORP.
Connector Part Information
  • 12162196
  • 2-Way F Metri-Pack 150.2 Series (GRY)
Pin Wire Color Circuit No. Function
A RED/BLK 645 Low Reference
B TAN 472 IAT Sensor Signal
Knock Sensor (KS) Bank 1

GM95764Courtesy of GENERAL MOTORS CORP.
Connector Part Information
  • 12176800
  • 1-Way F Metri-Pack 150 Series, Sealed (GRY)
Pin Wire Color Circuit No. Function
1 DK BLU 496 Knock Sensor 1 Signal
Knock Sensor (KS) Bank 2

GM95764Courtesy of GENERAL MOTORS CORP.
Connector Part Information
  • 12176800
  • 1-Way F Metri-Pack 150 Series, Sealed (GRY)
Pin Wire Color Circuit No. Function
1 DK BLU 1876 Knock Sensor 2 Signal
Manifold Absolute Pressure (MAP) Sensor (VIN K)

GM68740Courtesy of GENERAL MOTORS CORP.
Connector Part Information
  • 12129945
  • 3-Way F Metri-Pack 150 Series (GRY)
Pin Wire Color Circuit No. Function
A ORN/BLK 469 Low Reference
B LT GRN 432 MAP Sensor Signal
C GRY 605 5-Volt Reference
Manifold Absolute Pressure (MAP) Sensor (VIN 1)

GM280779Courtesy of GENERAL MOTORS CORP.
Connector Part Information
  • 12103770
  • 3-Way M Weather Pack (WHT)
Pin Wire Color Circuit No. Function
A ORN/BLK 469 Low Reference
B LT GRN 432 MAP Sensor Signal
C GRY 605 5-Volt Reference
Mass Air Flow (MAF) Sensor

GM62453Courtesy of GENERAL MOTORS CORP.
Connector Part Information
  • 12059596
  • 3-Way F Metri-Pack 150 Series (BLK)
Pin Wire Color Circuit No. Function
A YEL 492 MAF Sensor Signal
B BLK/WHT 51 Ground
C PNK 439 Ignition 1 Voltage
Supercharger Boost Control Solenoid

GM35437Courtesy of GENERAL MOTORS CORP.
Connector Part Information
  • 12052635
  • 2-Way F Metri-Pack 150 Series (BLK)
Pin Wire Color Circuit No. Function
A PNK 339 Ignition 1 Voltage
B GRY 1724 Boost Control Solenoid Control
Throttle Position (TP) Sensor

GM68730Courtesy of GENERAL MOTORS CORP.
Connector Part Information
  • 12110294
  • 3-Way F Metri-Pack 150 Series (BLK)
Pin Wire Color Circuit No. Function
A BLK 452 Low Reference
B DK BLU 417 TP Sensor Signal
C GRY 605 5-Volt Reference
TCC/Cruise Release Switch

GM258178Courtesy of GENERAL MOTORS CORP.
Connector Part Information
  • 12033705
  • 4-Way F Metri-Pack 280 Series (NAT)
Pin Wire Color Circuit No. Function
A PNK 239 Ignition 1 Voltage
B PPL 420 TCC Brake Switch Signal
C TAN 848 Brake Switch Signal
D BLK/WHT 351 Ground
Vehicle Speed Sensor (VSS)

GM237066Courtesy of GENERAL MOTORS CORP.
Connector Part Information
  • 12162194
  • 2-Way F Metri-Pack 150.2 Series (BLK)
Pin Wire Color Circuit No. Function
A PPL 401 VSS Low Signal
B YEL 400 VSS High Signal