LEMON Manuals: Even more car manuals for everyone
Home >> Buick >> 2005 >> Century Base >> Repair and Diagnosis >> Engine Performance >> System >> Engine Controls - Introduction >> Repair Instructions >> Fuel Tank Replacement >> Installation Procedure

Installation Procedure

  1. Install the insulator pad on the fuel tank.
  2. Fig 1: View OF Fuel Tank & EVAP Canister
    GM531026Courtesy of GENERAL MOTORS CORP.
    NOTE:
    • Do not attempt to straighten kinked nylon pipes. Replace any kinked nylon pipes in order to prevent damage to the vehicle.
    • Do not attempt to repair sections of nylon pipes. Replace damaged nylon pipes.
    • Replace the vapor pipes with original equipment or parts that meet GM specifications.
    • Replace the vapor hoses with original equipment or parts meeting GM specifications. Use only reinforced fuel-resistant hose identified with the word Fluoroelastomer or GM 6163M on the hose.
  3. Install the fuel feed, the fuel return, and the EVAP pipe assemblies and the insulator clips. Refer to Fuel Hoses/Pipes Replacement - Filter to Tank  and Evaporative Emission (EVAP) Hoses/Pipes Replacement - Canister/Fuel Tank .
  4. Install the EVAP canister. Refer to Evaporative Emission (EVAP) Canister Replacement .
  5. Fig 2: View Of Fuel Tank
    GM699556Courtesy of GENERAL MOTORS CORP.
  6. Install the fuel tank to a suitable jack.
  7. Raise the fuel tank (1) to the original position.
  8. NOTE: Refer to Fastener Notice in Cautions and Notices.
  9. Install the fuel tank strap bolts (2).

    Tighten:  Tighten the bolts to 48 N.m (35 lb ft).

  10. Fig 3: View Of Fuel Tank Shield
    GM699555Courtesy of GENERAL MOTORS CORP.
  11. Position the fuel tank shield (3) to the fuel tank (1).
  12. Install the push pins (2).
  13. Fig 4: View Of Fuel Feed & Return Pipes
    GM32401Courtesy of GENERAL MOTORS CORP.
  14. Connect the EVAP pipe at the front of the fuel tank.
  15. Connect the quick-connect fittings at the fuel filter and fuel filter area. Refer to Quick Connect Fitting(s) Service (Plastic Collar) .
  16. Fig 5: View Of EVAP Fresh Air Hose
    GM698635Courtesy of GENERAL MOTORS CORP.
  17. Install the two parts of the EVAP fresh air hose at the splice.
  18. Fig 6: View Of Fuel Tank Filler Hose
    GM155468Courtesy of GENERAL MOTORS CORP.
  19. Install the fuel tank filler hose to the fuel tank.
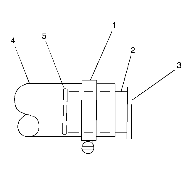
  20. Fig 7: Identifying Fuel Tank Components
    GM186674Courtesy of GENERAL MOTORS CORP.
  21. Fully seat the filler hose (4) on the fuel tank port (2).
  22. Ensure that the clamp (1) is properly located on the tank port between the bead (5) and the tank (3).

    Tighten:  Tighten the hose clamp to 2.5 N.m (22 lb in).

  23. Raise the exhaust system to the original position.
  24. Install the exhaust system to the exhaust pipe hangers.
  25. Lower the vehicle.
  26. Install the fuel sender assembly. Refer to Fuel Sender Assembly Replacement .
  27. Add fuel and install the fuel filler pipe cap.
  28. Connect the negative battery cable. Refer to Battery Negative Cable Disconnect/Connect Procedure in Engine Electrical.
  29. Inspect the fuel system for leaks by performing the following steps:
    1. Turn ON the ignition for 2 seconds.
    2. Turn OFF the ignition for 10 seconds.
    3. Turn ON the ignition.
    4. Inspect for fuel leaks.