LEMON Manuals: Even more car manuals for everyone
Home >> Buick >> 2005 >> Century Base >> Repair and Diagnosis >> Engine Performance >> System >> Engine Controls - Introduction >> Repair Instructions >> Fuel Injector Replacement >> Installation Procedure

Installation Procedure

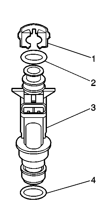
    Fig 1: Exploded View Of Fuel Injector & Components
    GM537311Courtesy of GENERAL MOTORS CORP.
  1. Install the fuel injector upper O-ring (2).
  2. Install the fuel injector lower O-ring (4).
  3. Install the fuel injector (3) to fuel rail.
  4. Install the fuel injector retaining clip (1).
  5. Install the fuel rail. Refer to Fuel Rail Assembly Replacement .