LEMON Manuals: Even more car manuals for everyone
Home >> Buick >> 2005 >> Century Base >> Repair and Diagnosis (Single Page) >> Accessories & Equipment >> Communication Devices >> Computer/Integrating Systems >> Component Locator >> Computer/Integrating Systems Connector End Views

Computer/Integrating Systems Connector End Views

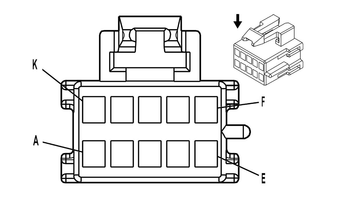
Body Control Module (BCM) C1 Connector End Views

GM803688Courtesy of GENERAL MOTORS CORP.
Connector Part Information
  • 12064871
  • 10-Way F Metri-Pack 150 Series (BLU)
Pin Wire Color Circuit No. Function
A WHT 156 Courtesy Lamp Low Control
B-D - - Not Used
E LT BLU 14 Left Turn Signal Lamps Supply Voltage
F DK BLU 15 Right Turn Signal Lamps Supply Voltage
G LT BLU/WHT 1414 Left Turn Signal Switch Signal
H DK BLU/WHT 1415 Right Turn Signal Switch Signal
J PNK 439 Ignition 1 Voltage
K BLK/WHT 1750 Ground
Body Control Module (BCM) C2 Connector End Views

GM362758Courtesy of GENERAL MOTORS CORP.
Connector Part Information
  • 12191375
  • 16-Way F Micro-Pack 100 Series (PPL)
Pin Wire Color Circuit No. Function
A1 LT GRN 80 Key In Ignition Switch Signal
A2 LT BLU 1830 DRL Park Brake ON Signal
A3 LT GRN 1055 Low Tire Pressure Reset Switch Signal
A4 - - Not Used
A5 DK BLU/WHT 727 Door Ajar Switch Signal
A6 ORN/BLK 781 Driver Door Lock Switch Unlock Signal
A7 WHT 1756 Rear Compartment Lid Release Switch Signal
A8 LT GRN 1037 BCM Class 2 Serial Data
B1 YEL/BLK 1138 DRL Ambient Light Sensor Signal
B2 LT GRN/BLK 1137 DRL Ambient Light Sensor Low Reference
B3 WHT/BLK 1073 Ignition Key Resistor Signal
B4 PPL/WHT 1074 Ignition Key Resistor Low Reference
B5 DK BLU 49 Door Unlatch Switch Signal
B6 RED/BLK 780 Driver Door Lock Switch Lock Signal
B7 DK BLU/WHT 1495 Courtesy Lamp Control
B8 - - Not Used
Body Control Module (BCM) C3 Connector End Views

GM130690Courtesy of GENERAL MOTORS CORP.
Connector Part Information
  • 12110206
  • 24-Way F Micro-Pack 100 Series (LT BLU)
Pin Wire Color Circuit No. Function
A1 LT GRN 377 Serial Data
A2 LT BLU 1872 Exterior Lamps OFF Input
A3 - - Not Used
A4 GRY/BLK 308 Park Lamp Switch Signal On Input
A5 BLK 28 Horn Relay Control
A6 - - Not Used
A7 TAN/WHT 816 A/T Shift Lock Solenoid Supply Voltage
A8 DK BLU 38 Backup Lamp Relay Control
A9 BRN 253 Trunk Release Relay Control
A10 BLK 707 RAP Relay Control (RAP)
A11 WHT 103 Automatic Headlamp Relay Control
A12 - - Not Used
B1-B3 - - Not Used
B4 ORN/BLK 737 Trunk Ajar Switch Signal
B5 YEL 10 Headlamp Switch Signal
B6-B7 - - Not Used
B8 YEL 443 Accessory Voltage
B9 PPL 806 Crank Voltage
B10 PPL 1500 Ignition 0 Voltage
B11 BLK/WHT 238 Seat Belt Switch - Left
B12 - - Not Used
Body Control Module (BCM) C4 Connector End Views

GM62464Courtesy of GENERAL MOTORS CORP.
Connector Part Information
  • 12064769
  • 10-Way F Metri-Pack 150 Series (NAT)
Pin Wire Color Circuit No. Function
A BLK 1750 Ground
B BLK 1550 Ground
C - - Not Used
D ORN 2340 Battery Positive Voltage
E TAN 694 Driver Door Lock Actuator Unlock Control
F ORN 1732 Courtesy Lamps Supply Voltage
G GRY 295 Door Lock Actuator Lock Control
H TAN 294 Door Lock Actuator Unlock Control
J ORN 1540 Battery Positive Voltage
K ORN 240 Battery Positive Voltage
Data Link Connector (DLC) Connector End Views

GM68793Courtesy of GENERAL MOTORS CORP.
Connector Part Information
  • 12110250
  • 16-Way F Metri-Pack 150 Series (BLK)
Pin Wire Color Circuit No. Function
1 - - Not Used
2 PPL 1132 DLC Class 2 Serial Data
3 - - Not Used
4 BLK 1450 Ground
5 BLK 1550 Ground
6-15 - - Not Used
16 ORN 640 Battery Positive Voltage
Retained Accessory Power (RAP) Relay Connector End Views

GM309518Courtesy of GENERAL MOTORS CORP.
Connector Part Information
  • 12129715
  • 6-Way F Metri-Pack 280 Series Flexlock (GRY)
Pin Wire Color Circuit No. Function
A1 BLK 707 RAP Relay Control
A2 RED 142 Battery Positive Voltage
B1-B2 - - Not Used
C1 DK BLU 75 RAP Relay Switch Supply Voltage
C2 ORN 240 Battery Positive Voltage
Splice Pack (SP205) Connector End Views

GM338576Courtesy of GENERAL MOTORS CORP.
Connector Part Information
  • 12191216
  • 12-Way F GT 150 Splice Saver SGL (GRY)
Pin Wire Color Circuit No. Function
A PPL 1132 DLC Class 2 Serial Data
B DK GRN 1049 PCM Class 2 Serial Data
C LT GRN/BLK 1098 VCM Class 2 Serial Data
D ORN 1044 VCM Class 2 Serial Data
E LT BLU 1122 ABS/TCS Class 2 Serial Data
F DK BLU 1128 SDM Class 2 Serial Data
G GRY 1036 IPC Class 2 Serial Data
H-K - - Not Used
L WHT 1038 HVAC Class 2 Serial Data (CJ2)
M LT GRN 1037 BCM Class 2 Serial Data