LEMON Manuals: Even more car manuals for everyone
Home >> Buick >> 2004 >> Century Base >> Repair and Diagnosis (Single Page) >> Body & Frame >> Windows >> Stationary Window System >> Component Locator >> Stationary Windows Component Views

Stationary Windows Component Views

Fig 1: View Of Inside Rearview Mirror
GM1367222Courtesy of GENERAL MOTORS CORP.
Callout Component Name
1 Inside Rearview Mirror (UE1 Shown, DC4 Similar)
Fig 2: Behind The Right Side Of The I/P Components View
GM1162362Courtesy of GENERAL MOTORS CORP.
Callout Component Name
1 Vacuum Reservoir
2 G200
3 Fuse Block - I/P
4 C200
5 Blower Motor
6 Blower Motor Resistor Assembly (CJ3)/Blower Motor Control Processor (CJ2)
7 P100
8 Vacuum Reservoir
9 Black Vacuum Hose
10 Air Temperature Actuator - Right
11 Automatic Headlamp Relay
12 Rear Compartment Lid Release Relay
13 Rear Window Defogger Relay
14 Retained Accessory Power (RAP) Relay
15 I/P Wiring Harness
16 Air Temperature Actuator - Left
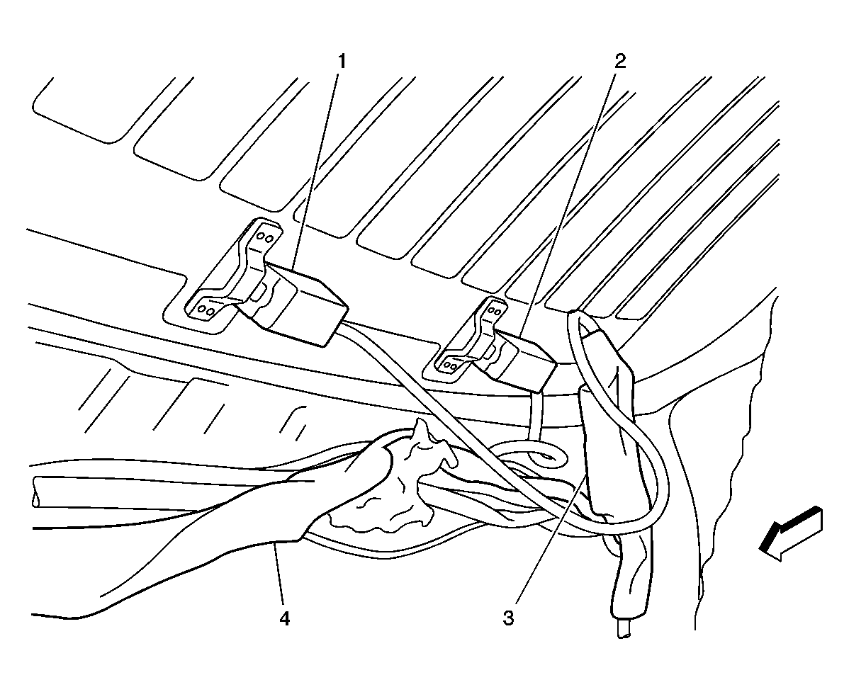
Fig 3: RR Of The Passenger Compartment Components View
GM1209049Courtesy of GENERAL MOTORS CORP.
Callout Component Name
1 Rear Window Defogger Grid Connector, C3 (U77)
2 Rear Window Defogger Grid Connector, C1
3 Radio Noise Suppressor
4 Body Wiring Harness
Fig 4: Left Side Of Rear Window Component View
GM591555Courtesy of GENERAL MOTORS CORP.
Callout Component Name
1 Rear Window Defogger Grid Connector, C2