LEMON Manuals: Even more car manuals for everyone
Home >> Buick >> 2003 >> Century Base >> Repair and Diagnosis (Single Page) >> Quick Lookups >> Wiring Diagrams >> OEM Connector End Views >> Connector End Views >> Identifying Passenger-side Air Bag Module Connector End View

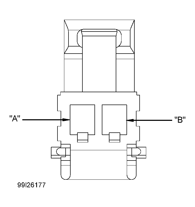
Identifying Passenger-side Air Bag Module Connector End View

Fig 1: Identifying Passenger-side Air Bag Module Connector End View
G99I26177Courtesy of GENERAL MOTORS CORP.