LEMON Manuals: Even more car manuals for everyone
Home >> Buick >> 2003 >> Century Base >> Repair and Diagnosis (Single Page) >> Engine Performance >> Remove, Overhaul & Install >> Engine Controls - Removal & Installation - V6 & V8 >> Ignition Systems >> Ignition Control Module >> Removal & Installation (3.8L)

Removal & Installation (3.8L)

  1. Remove the 14-way electrical connector from the ignition control module (ICM).
  2. Disconnect the spark plug wires from the coil assemblies. Before removing the wires, note the position of the wires.
  3. Remove the ICM nuts.
  4. Remove the ICM from the bracket.
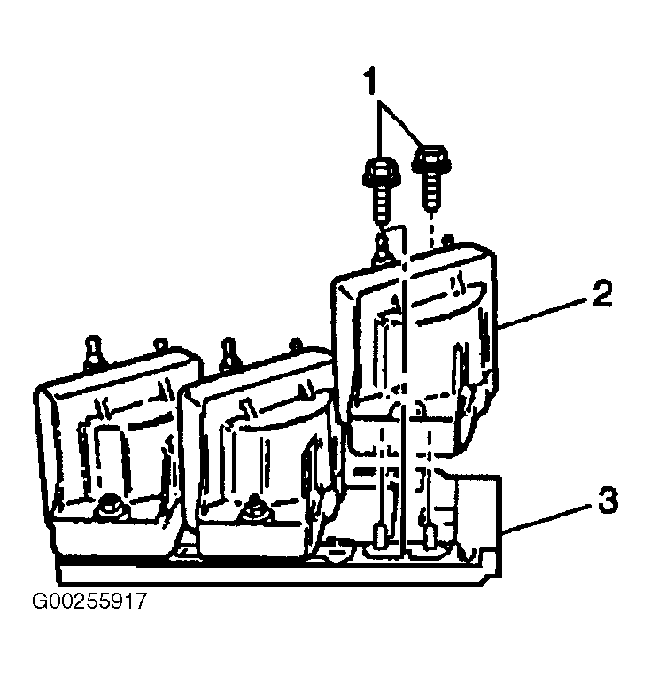
  5. Remove the ignition coil screws. See Fig 1.
  6. Remove the ignition coils from the ICM.
  7. To install, reverse removal procedure.
Fig 1: Removing & Installing Ignition Control Module
G00255917Courtesy of GENERAL MOTORS CORP.