LEMON Manuals: Even more car manuals for everyone
Home >> Buick >> 1996 >> Roadmaster Base >> Repair and Diagnosis >> Engine Performance >> System >> Engine Control Systems - Tests W/Codes >> Diagnostic Trouble Codes >> DTC P0200 - Injector Control Circuit >> Diagnostic Aids

Diagnostic Aids

If an injector is disconnected while engine is operating and if DTC P0200 is present, injector driver will be disabled for the entire ignition cycle. When injector driver is disabled, engine misfire will be apparent and a misfire related DTC will set.

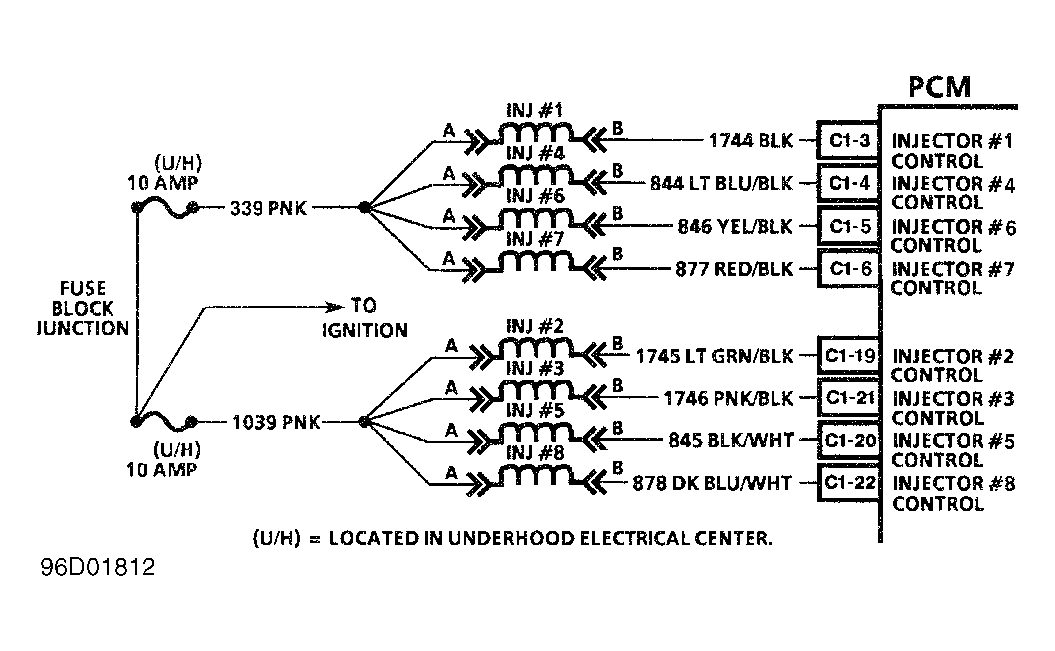
Fig 1: DTC P0200 Schematic
G96D01812Courtesy of GENERAL MOTORS CORP.