LEMON Manuals: Even more car manuals for everyone
Home >> Buick >> 1996 >> Roadmaster Base >> Repair and Diagnosis >> Electrical >> Starter >> Starting System >> Torque Specifications

Torque Specifications

TORQUE SPECIFICATIONS

Application Ft. Lbs. (N.m)
Starter Mounting Bolts
4.3L & 5.7L (VIN P) 35 (47)
Fig 1: Exploded View Of Delco-Remy Starter Motor (SD260) (Caprice, Impala SS & Roadmaster)
G94J33711Courtesy of GENERAL MOTORS CORP.
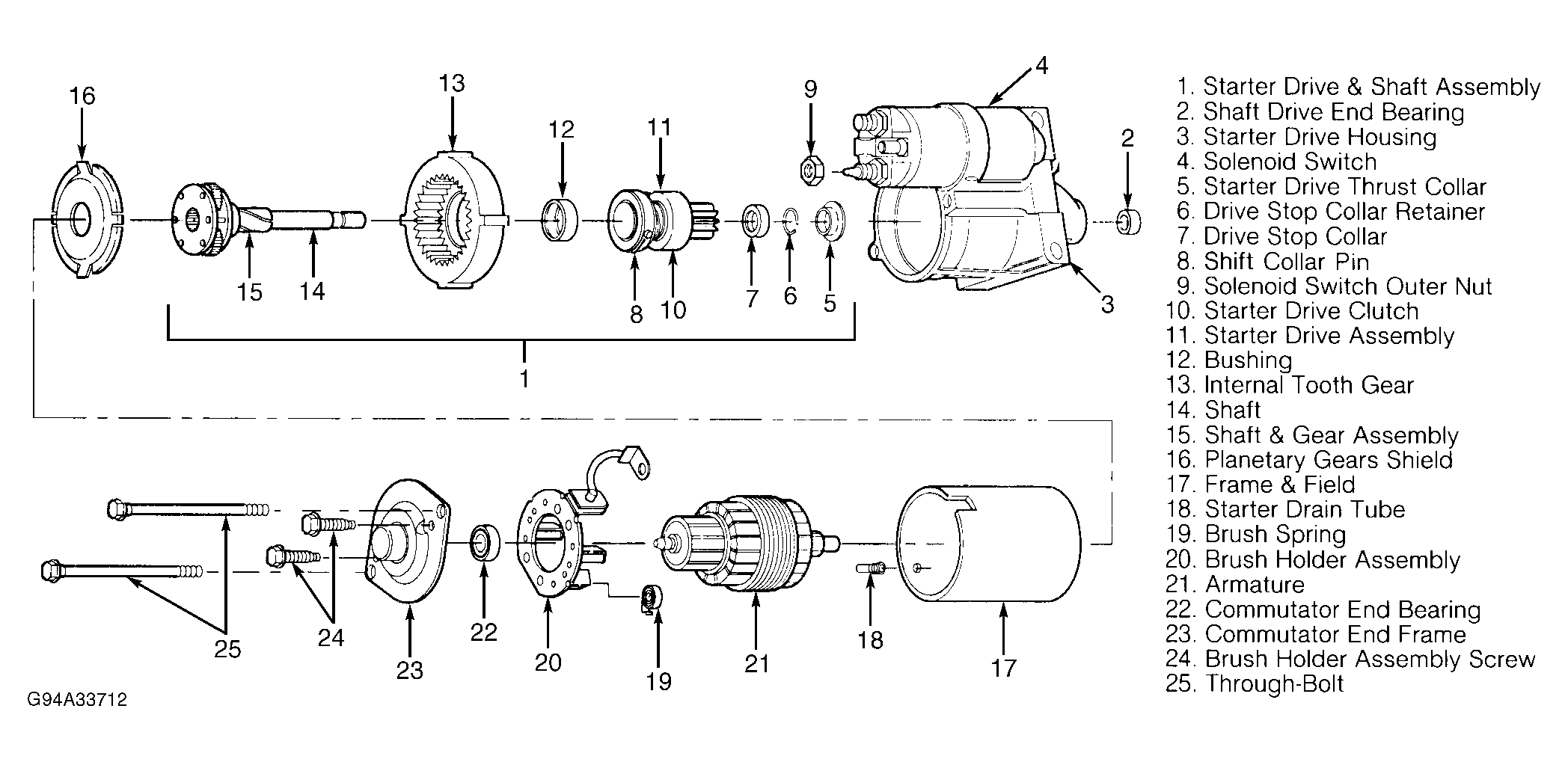
Fig 2: Exploded View Of Delco-Remy Starter Motor (PG250) (Caprice, Impala SS & Roadmaster)
G94A33712Courtesy of GENERAL MOTORS CORP.