LEMON Manuals: Even more car manuals for everyone
Home >> Buick >> 1996 >> Century Custom >> Repair and Diagnosis >> Engine Performance >> System >> Engine Controls - Basic Engine Testing - 2.2L >> On-Board Diagnostic (OBD) System Check >> The OBD System Check determines:

The OBD System Check determines:

After performing procedures in PRELIMINARY INSPECTION & ADJUSTMENTS, BASIC FUEL SYSTEM CHECKS and BASIC IGNITION SYSTEM CHECKS, this is the starting point for utilizing the self-diagnostic system for determining computer-related problems. After performing necessary tests as described in the diagnostic circuit check, if no codes are indicated and driveability problems still exist, see TESTS W/O CODES article and SCAN TESTER USAGE in TESTS W/CODES article.

  1. Turn ignition on with engine off. If Malfunction Indicator Light (MIL) illuminates, go to next step. If MIL does not illuminate, go to A-1, MIL INOPERATIVE  .
  2. Turn ignition off. Install Tech 1 scan tool and follow scan tool manufacturer's instructions to proceed with test. Turn ignition on. If scan tool displays PCM data, go to next step. If scan tool does not display PCM data, go to A-2/A-4, DLC DIAGNOSIS OR NO SCAN TOOL DATA.
  3. Using scan tool, command MIL to turn off. If MIL turns off, go to next step. If MIL does not turn off, go to A-2 MIL ON STEADY.
  4. Using scan tool, check if any DTC(s) are present. If DTC(s) are present, go to next step. If DTC(s) are not present, go to step 6).
  5. Using scan tool, store FREEZE FRAME and FAILURE RECORDS data. Diagnose any stored DTC using TESTS W/CODES article.
  6. Start engine. If engine starts and runs, go to next step. If engine does not start or starts and dies, go to NO START DIAGNOSIS (A-3)  .
  7. Turn ignition on with engine off. Check Engine Coolant Temperature (ECT) and TP sensors. Start and warm engine to 194-203°F (90-95°C). Check ECT, MAP, O2S sensors, and IAC valve for proper operation. Check related circuits or component(s). See SYSTEM/COMPONENT TESTS article.
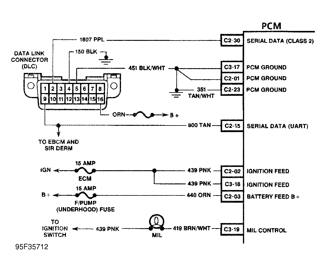
Fig 1: Data Link Connector Circuit
G95F35712Courtesy of GENERAL MOTORS CORP.