LEMON Manuals: Even more car manuals for everyone
Home >> Buick >> 1995 >> Roadmaster Base >> Repair and Diagnosis (Single Page) >> Engine Performance >> System >> Engine Controls - Tests W/Codes - 5.7L >> ECM/Pcm Code Charts >> Code 18, Injector Circuit >> Diagnostic Aids

Diagnostic Aids

If an injector is disconnected and then reconnected while engine is running, injector driver is disabled for a predetermined time and Code 18 will set. When driver is disabled, an engine misfire will be evident.

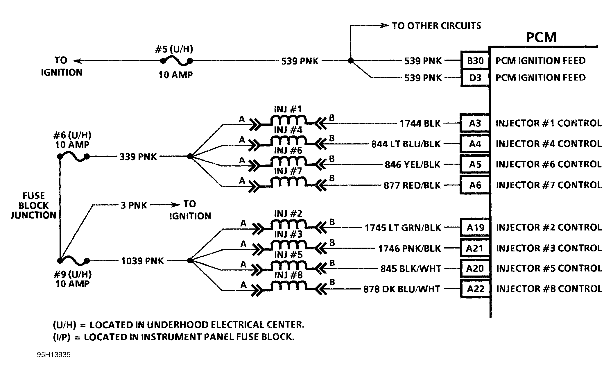
Fig 1: Code 18 Schematic (5.7L) Injector Circuit
G95H13935
Fig 2: Code 18 Diagnostic Flow Chart (5.7L) Injector Circuit
G94I35004