LEMON Manuals: Even more car manuals for everyone
Home >> Buick >> 1995 >> LeSabre Custom >> Repair and Diagnosis >> Engine Performance >> System >> Engine Controls - Tests W/Codes >> ECM/Pcm Code Charts >> DTC P0501/P0502: VSS Circuit >> Test Description

Test Description

NOTE: Test numbers refer to numbers on diagnostic chart.
  1. VSS signal generator only produces a signal if drive wheels are turning greater than 3 MPH.
  2. Check PROM for correct application before replacing PCM.
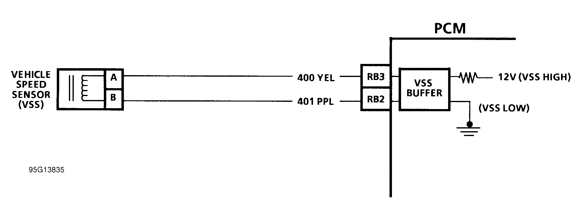
Fig 1: Codes P0501/P0502 Schematic (3.8L) VSS Circuit
G95G13835
Fig 2: Codes P0501/P0502 Diagnostic Flow Chart (3.8L) VSS Circuit
G94E35208