LEMON Manuals: Even more car manuals for everyone
Home >> Buick >> 1994 >> Roadmaster Base >> Repair and Diagnosis (Single Page) >> Engine Performance >> System >> Engine Controls - Tests W/Codes - 5.7L >> ECM/Pcm Code Charts >> Code 97, VSS Output Circuit >> Diagnostic Aids

Diagnostic Aids

Inspect harness and all related connections, including PCM connections.

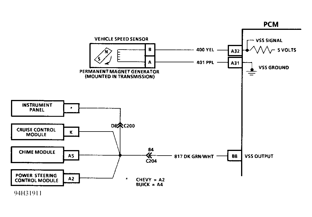
Fig 1: Code 97 Schematic (5.7L) VSS Output Circuit
G94H31911
Fig 2: Code 97 Flow Chart (5.7L) VSS Output Circuit
G94G31969