LEMON Manuals: Even more car manuals for everyone
Home >> Buick >> 1989 >> Reatta >> Repair and Diagnosis (Single Page) >> Engine Performance >> System >> 3.8L BCM Tests W/Codes >> Self-Diagnostics >> Code B123, Panel Lamp Switch Circuit >> Notes

Code B123, Panel Lamp Switch Circuit: Notes

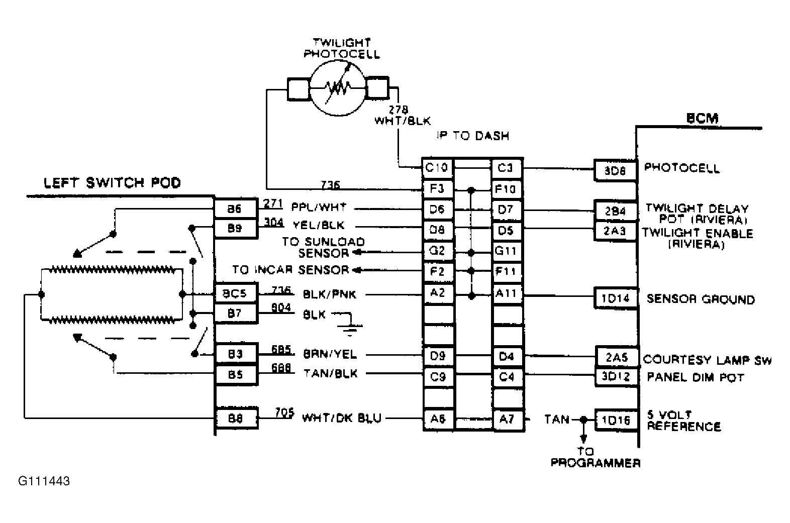
Inside left switch assembly, panel lamp switch contacts close when dimming slider is moved to its extreme maximum position. The BCM supplies a voltage on circuit No. 685 to switch. When signal is pulled to ground, BCM turns courtesy light on.

Code B123 will set if panel dimming pot has not failed and BCM sees circuit No. 685 grounded while dimmer switch position was less than a value for maximum panel light brightness. A grounded circuit No. 685 will not only set Code B123, but will also turn courtesy lights on at all times and drain battery.

NOTE: Test numbers refer to numbers on diagnostic chart.
  1. BI01 display, dimmer switch input, will read "LOW" if dimming slider is at maximum "up" position. BI01 display will read "HIGH" if dimming slider is not at maximum position.
  2. By removing switch assembly, a shorted switch can be detected by observing BI01 display.
  3. By removing BCM connector, short to ground can be isolated as being wire or BCM.
Fig 1: Code B123, Wiring Diagram (1 of 2) Panel Lamp Switch Circuit
G111443
Fig 2: Code B123, Wiring Diagram (2 of 2) Panel Lamp Switch Circuit
G111444