LEMON Manuals: Even more car manuals for everyone
Home >> BMW >> 2021 >> i3 Range Extender >> Repair and Diagnosis (Single Page) >> Collision >> Structural >> Collision - Body Panel Repair (I01) >> 41 00 Body Panel Repair >> Sectional Repair Of Extruded Aluminum Sections With Repair Elements Rep-Rep-RAI0141-4105811 - V.4

Sectional Repair Of Extruded Aluminum Sections With Repair Elements Rep-Rep-RAI0141-4105811 - V.4

In the case of a partial replacement, an extruded aluminum section is cut at a point described in the repair instructions  .

The following operations are a schematic diagram  .

Mark component in accordance with dimension A and cut.

Deburr cutting edge.

G05503174Courtesy of BMW OF NORTH AMERICA, INC.

Mark new part in accordance with severance cut on vehicle and cut.

Deburr cutting edge.

Adjust new part to fit without gaps using alignment square or universal mount.

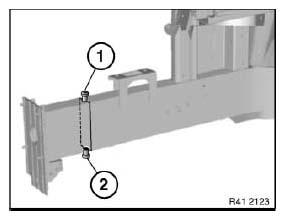
Drill holes in the center, the top (1) and the bottom (2) cut edges.

Hole diameter 10 mm.

NOTE: The inner surfaces of the section cavities must be smooth. They must not have any protrusions.
G05503175Courtesy of BMW OF NORTH AMERICA, INC.

Clean inner surfaces with R1 cleaning agent.

Screw bolts (2) into repair inserts (1).

Clean repair elements (1) with R1 cleaning agent.

Apply ADHESIVE  to repair inserts (1).

G05503176Courtesy of BMW OF NORTH AMERICA, INC.

Push repair inserts (1) into the upper and lower part cavities on the body.

G05503177Courtesy of BMW OF NORTH AMERICA, INC.

Slide new part over repair inserts and adjust to fit using alignment square or universal holder.

Expand repair inserts using bolts (1) and (2) until the surface in the area of the bolts (1) and (2) is slightly raised.

Drill holes for blind rivets with a dia. of 6.8 mm only after the repair elements have spread. Mount blind rivets. Refer to the vehicle-specific repair instructions for the of the number of blind rivets.

Unless a different procedure is described in the vehicle-specific repair instructions, remove screws (1) and (2) only after harden of adhesive.

Seal separation points, holes and blind rivet heads with SEALANT D1 .

G05503178Courtesy of BMW OF NORTH AMERICA, INC.