LEMON Manuals: Even more car manuals for everyone
Home >> BMW >> 2017 >> i3 Range Extender >> Repair and Diagnosis (Single Page) >> Collision >> Body Panels >> Collision - Body Panel Repair (I01) >> Body Repair General Information >> 41 00... Check Of Drive Module (Aluminium)

41 00... Check Of Drive Module (Aluminium)

The Drive module consists of extruded profiles and cast parts in aluminium.

Cast part are used as spring strut dome and as rear axle module. Any other components are extruded profiles.

Check for damage (deformation) using a straightening system or beam trammel.

For optical testing, strip adjoining components in cases of doubt.

Extruded profiles and cast parts showing visible or measurable signs of deformation must be replaced.

The relative component must be replaced when showing sharp-edged damages or cracks.

Example rear axle module:

The rear axle module must be replaced if the bearing support of the rubber mount is broken.

Exceptions apply for the following components: 

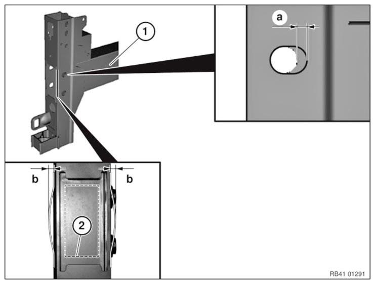
  1. Screw connection of deformation element, front.

    The side member is deformed when attaching the deformation element to the side member (1) by means of screws.

    G11145899Courtesy of BMW OF NORTH AMERICA, INC.

    maximum depth of 1 mm are permitted along the line (2).

    G11145900Courtesy of BMW OF NORTH AMERICA, INC.
  2. Screw connection of deformation element, rear.

    Pressure marks in areas (1) caused by the thread of the screwed connections of the deformation elements are permitted.

    When there is damage to the deformation element, the rear axle module must be replaced only if the specified values are exceeded.

    Dimension bearing stress a =2 mm.

    NOTE: Screw connection hole (2) dia. 14 mm.

    Screw connection hole (3) elongated hole 16x14 mm.

    G11145901Courtesy of BMW OF NORTH AMERICA, INC.
  3. Connection of tension struts on left and right (1) to rear end strut (2)

    When there is deformation of the rear end strut in areas (3) in the longitudinal direction of the vehicle (x-direction), the rear end strut must be replaced only if the specified values are exceeded.

    Dimension (A) = 2 mm.

    If there are cracks, the rear end strut (2) must be replaced.

    G11145902Courtesy of BMW OF NORTH AMERICA, INC.
  4. Holder, cooling package (1)

    If deformed, the holder (1) can be straightened. After straightening, visually inspect the welded seam (2) for cracks.

    If the welded seam is cracked, the SIDE MEMBER  must be replaced.

  5. Bridge (1) on the Drive module in the area of the high-voltage battery

    The purpose of the bridge (1) is to protect the screws (2) from damage.

    For damage up to 5 mm deep, deburr the damaged area and paint.

    G11145903Courtesy of BMW OF NORTH AMERICA, INC.

    If necessary, replace the damaged screws (2) of the high-voltage battery.

    G11145904Courtesy of BMW OF NORTH AMERICA, INC.
  6. U section (1) on the cross member

    The purpose of the U section (1) is to protect the screw from damage.

    For damage up to 2 mm deep, deburr the damaged area and paint.

    For damage deeper than 2 mm, the cross member must be replaced.

    Replace damaged screw, if necessary.

The seat cross members cannot be replaced separately. In the case of damaged seat cross members, the bodyshell must be replaced.

Reshaping or heating extruded profiles and cast parts is not permitted! 

Failure to comply with this requirement would have the following results:

Take the gap dimensions for doors, engine compartment lid and tailgate from the gap dimension diagram shown in the individual repair instructions.