LEMON Manuals: Even more car manuals for everyone
Home >> BMW >> 2015 >> 528i >> Repair and Diagnosis (Single Page) >> Steering >> Steering Column >> Steering And Wheel Alignment - Repair >> Pump And Oil Supply >> 32 41... Notes On Hydraulic Line With Quick-Connect Coupling

32 41... Notes On Hydraulic Line With Quick-Connect Coupling

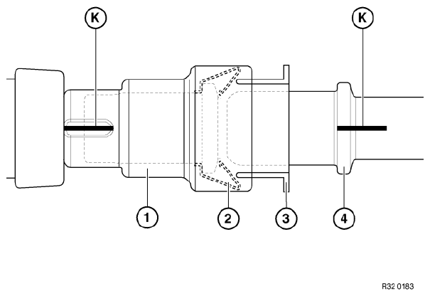
  1. Quick-connect coupling with ID marking 
    Fig 1: Quick-Connect Coupling With ID Marking
    G04726408Courtesy of BMW OF NORTH AMERICA, INC.

    Removing: 

    Push quick-connect coupling (1) against pipe (4) (thereby relieving strain on spring (2)).

    Press plastic ring (3) into quick-connect coupling (1) and remove coupling (1).

    Assembly: 

    Markings (K) on coupling (1) and pipe (4) must be flush.

    Push quick-connect coupling (1) onto pipe (4) until a "click" can clearly be heard.

    To check that quick-connect coupling (1) has been installed correctly, pull it back forcefully.

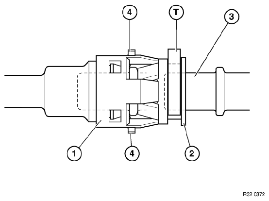
  2. Quick-connect coupling with indication pins 
    Fig 2: Quick-Connect Coupling With Indication Pins
    G04726409Courtesy of BMW OF NORTH AMERICA, INC.

    Removing: 

    Press plastic ring (2) into quick-connect coupling (1) and remove coupling (1).

    Assembly: 

    When replacing hydraulic line: remove transportation lock (T).

    Push quick-connect coupling (1) onto pipe (3) until both indication pins (4) can be seen and felt to point outwards at outside diameter of housing.

    To check that quick-connect coupling (1) has been correctly fitted, feel indication pins (4) at outside diameter of housing. When correctly seated, indication pins (4) cannot be pressed into housing.

    IMPORTANT: Coupling is not correctly engaged if both indication pins (4) fail to protrude from housing. Leakage is thus unavoidable.