LEMON Manuals: Even more car manuals for everyone
Home >> BMW >> 2014 >> i3 Base >> Repair and Diagnosis (Single Page) >> Accessories & Equipment >> Memory Modules >> General Electrical System - Repair >> Plug Connection, Terminal, Power Distribution Box >> 61 13... Crimping stop parts

61 13... Crimping stop parts

NOTE: Illustration shows butt connectors and contact sleeves for comb connectors knocked on one side. The crimping procedure is identical here.
Fig 6: Checking Insulation Crimping And Wire Crimp
G04727474Courtesy of BMW OF NORTH AMERICA, INC.

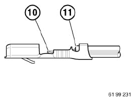
Correct crimping: 

Visible conductor end (10).

Visible insulation end (11).

Fig 7: Identifying Conductor And Insulation End (Correct Crimping)
G04727475Courtesy of BMW OF NORTH AMERICA, INC.

Incorrect crimping: 

Conductor end (10) inserted too far.

Insulation end (11) in wire crimp.

If necessary, repeat crimping with a new contact.

Fig 8: Identifying Conductor And Insulation End (Incorrect Crimping)
G04727476Courtesy of BMW OF NORTH AMERICA, INC.

Incorrect crimping: 

Conductor end (10) not visible.

Insulation end (11) not visible.

If necessary, repeat crimping with a new contact.

Fig 9: Identifying Conductor And Insulation End (Incorrect Crimping)
G04727477Courtesy of BMW OF NORTH AMERICA, INC.