LEMON Manuals: Even more car manuals for everyone
Home >> BMW >> 2013 >> 335is 2D Convertible, Standard Trans >> Repair and Diagnosis >> Accessories & Equipment >> Memory Modules >> General Electrical System - Repair - E93 >> Plug Connection, Terminal, Power Distribution Box >> 61 13... Relay carrier

61 13... Relay carrier

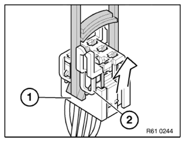
Place special tool 61 1 153 against relay carrier (1) and carefully pull in direction of arrow until the locking tabs (2) of the relay carrier are raised up.

Fig 1: Identifying Relay Carrier And Locking Tabs
G09863316Courtesy of BMW OF NORTH AMERICA, INC.

Pull relay carrier (2) in direction of arrow into the first catch (3).

Fig 2: Pulling Relay Carrier Into First Catch
G09863317Courtesy of BMW OF NORTH AMERICA, INC.

Press down arrester hook (4) of corresponding contact and pull out the cable with contact.

With special tool 61 1 136 or 61 1 137 (press out) press out dual spring contacts.

Fig 3: Pressing Down Arrester Hook And Pulling Out Wire With Contact
G09863318Courtesy of BMW OF NORTH AMERICA, INC.