LEMON Manuals: Even more car manuals for everyone
Home >> BMW >> 2013 >> 335is 2D Convertible, Standard Trans >> Repair and Diagnosis >> Accessories & Equipment >> Memory Modules >> General Electrical System - Repair - E93 >> Plug Connection, Terminal, Power Distribution Box >> 61 13... Crimping stop parts

61 13... Crimping stop parts

Special tools required:

Crimping contact sleeves for 4 mm 2  comb connectors and ignition cable contacts: 

Use special tool kit 12 1 080 to attach ignition cable contacts and crimp 4 mm2 contact sleeves for comb connectors.

See repair instructions: 

SPECIAL TOOLS FOR WIRING HARNESS REPAIRS .

Fig 1: Identifying Hand Pliers And Nest
G09863256Courtesy of BMW OF NORTH AMERICA, INC.

Release special tool 12 1 081:

Squeeze grips (1) lightly and push release lever (2) in direction of arrow.

Or:

Compress handles until limit position, hand pliers unlock automatically.

Fig 2: Releasing Lever
G09863257Courtesy of BMW OF NORTH AMERICA, INC.

Place 4 mm2 contact sleeve in nest with anti-twist safeguard (1) as far as possible.

Fig 3: Locating Anti-Twist Safeguard
G09863258Courtesy of BMW OF NORTH AMERICA, INC.

Preload contact by squeezing matrix in crimping tool.

Grip contact (1) firmly only, do not crimp.

Fig 4: Gripping Contact
G09863259Courtesy of BMW OF NORTH AMERICA, INC.
NOTE: Follow procedure for CUTTING AND STRIPPING INSULATION  from cables.

Insert stripped end of wire (1) in the contact. Ensure insulation and stripped wire end are correctly laid in contact.

Compress crimping tool to limit position.

Crimping tool unlocks automatically.

Take contact out of crimping tool.

Fig 5: Crimping Contact Onto Stripped End Of Wire
G09863260Courtesy of BMW OF NORTH AMERICA, INC.

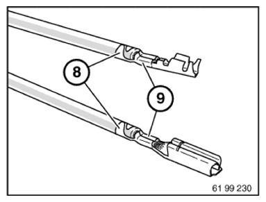
4. Checking crimping 

Check insulation crimping (8) and wire crimp (9) against following illustrations to ensure crimps are correctly located.

NOTE: Illustration shows butt connectors and contact sleeves for comb connectors knocked on one side. The crimping procedure is identical here.
Fig 6: Checking Insulation Crimping And Wire Crimp
G09863261Courtesy of BMW OF NORTH AMERICA, INC.

Correct crimping: 

Visible conductor end (10).

Visible insulation end (11).

Fig 7: Identifying Conductor End And Insulation End
G09863262Courtesy of BMW OF NORTH AMERICA, INC.

Incorrect crimping: 

Conductor end (10) inserted too far.

Insulation end (11) in wire crimp.

If necessary, repeat crimping with a new contact.

Fig 8: Identifying Incorrect Crimping (Inserted Too Far)
G09863263Courtesy of BMW OF NORTH AMERICA, INC.

Incorrect crimping: 

Conductor end (10) not visible.

Insulation end (11) not visible.

If necessary, repeat crimping with a new contact.

Fig 9: Identifying Incorrect Crimping (Not Inserted Far Enough)
G09863264Courtesy of BMW OF NORTH AMERICA, INC.