LEMON Manuals: Even more car manuals for everyone
Home >> BMW >> 2012 >> 135i 2D Convertible, Standard Trans >> Repair and Diagnosis >> Accessories & Equipment >> Memory Modules >> General Electrical System - Repair >> Plug Connection, Terminal, Power Distribution Box >> 61 13... Relay carrier

61 13... Relay carrier

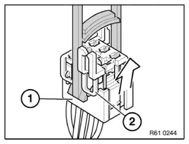
Place special tool 61 1 153 against relay carrier (1) and carefully pull in direction of arrow until the locking tabs (2) of the relay carrier are raised up.

Fig 1: Pulling Relay Carrier
G10022324Courtesy of BMW OF NORTH AMERICA, INC.

Pull relay carrier (2) in direction of arrow into the first catch (3).

Fig 2: Pulling Relay Carrier
G10022325Courtesy of BMW OF NORTH AMERICA, INC.

Press down arrester hook (4) of corresponding contact and pull out the cable with contact.

With special tool 61 1 136 or 61 1 137 (press out) press out dual spring contacts.

Fig 3: Pressing Arrester Hook
G10022326Courtesy of BMW OF NORTH AMERICA, INC.