LEMON Manuals: Even more car manuals for everyone
Home >> BMW >> 2011 >> 740Li >> Repair and Diagnosis (Single Page) >> Collision >> Dimensions >> Collision - Body Panel Repair (F01, F02) >> Body Repair General Information >> 41 00... Welding In Reinforcement Plate (Steel Plate)

41 00... Welding In Reinforcement Plate (Steel Plate)

In the case of a partial replacement piece, a body component is cut at a point described in the repair instructions.

A reinforcement plate is welded in to ensure sufficient strength.

Follow notes for WELDING STEEL COMPONENTS .

NOTE: The following illustrations serve as general illustrations of reinforcement plate repair work. They are applicable to all cutting repairs.

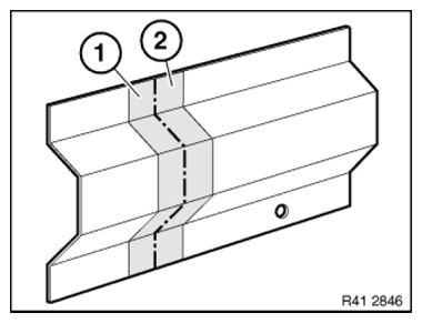
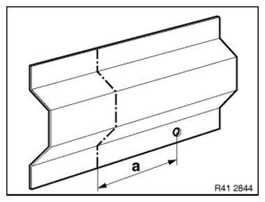
Mark component in accordance with distance A and cut.

Fig 1: Identifying Component Cutting Distance
G06890374Courtesy of BMW OF NORTH AMERICA, INC.

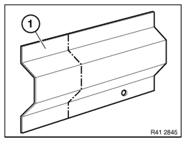
Cut new part (1) in accordance with cut and if necessary adjust to fit with straightening attachment or universal mount.

Installation: 

Adhere to a gap at severance cut of approx. one to max. two material thicknesses in order to ensure welding with the reinforcement plate and to facilitate a more tolerant fit.

Fig 2: Identifying Cut Position Of Part
G06890375Courtesy of BMW OF NORTH AMERICA, INC.

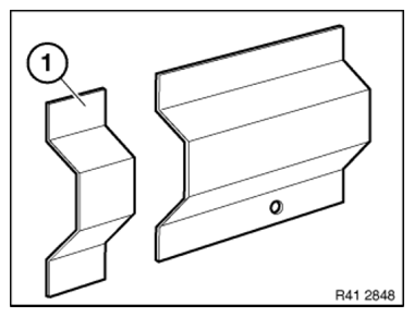
Clean inner and outer sides of connecting areas (1) on new part and (2) on body.

Coat inner sides with welding primer.

Fig 3: Identifying Inner And Outer Sides Of Connecting Areas
G06890376Courtesy of BMW OF NORTH AMERICA, INC.

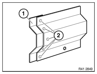
Drill holes (1) and (2) at distance of 25 mm to each other.

Hole diameter approx. 8 mm.

Fig 4: Identifying Drill Holes
G06890377Courtesy of BMW OF NORTH AMERICA, INC.

Make reinforcement plate (1) from trim of new part.

If necessary, make further reinforcement plates.

Length of reinforcement plates is min. 40 mm.

Coat reinforcement plates (1) and (2) on both sides with welding primer.

Fig 5: Identifying Reinforcement Plate
G06890378Courtesy of BMW OF NORTH AMERICA, INC.

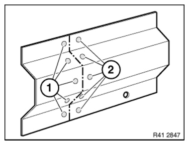
Push reinforcement plate (1) into component on body up to half way and plug-weld (3).

Fig 6: Pushing Reinforcement Plate Into Component On Body Up To Half Way And Plug-Weld
G06890379Courtesy of BMW OF NORTH AMERICA, INC.

If necessary, adjust new part (1) to fit with straightening attachment or universal mount and plug-weld (2).

MAG weld joint (3).

Grind and clean weld seam and plug weld spots.

Only visible areas of the outer skin and worn areas on the support carrier must be tinned.

All areas which have covers on the vehicle are not to be tinned.

NOTE: Only applicable within the European Union.
European used-car regulations prohibit the use of tin containing lead in motor vehicles introduced after 01.07.2003.
Fig 7: Identifying Plug-Weld And MAG Weld Joint
G06890380Courtesy of BMW OF NORTH AMERICA, INC.