LEMON Manuals: Even more car manuals for everyone
Home >> BMW >> 2009 >> 528i Automatic >> Repair and Diagnosis >> External Pages >> Different car >> Section 3473 (Seats - Repair) >> Rear Seat, Through-Loading >> 51 23... Removing/installing ball sockets with clip

51 23... Removing/installing ball sockets with clip

WARNING: This page does not describe the selected car, but rather 50 other vehicles, including the 2016 BMW M5, 2016 BMW ActiveHybrid 5, 2016 BMW 550i xDrive, 2016 BMW 550i, and 2016 BMW 535i xDrive. However, it is still accessible from the selected car via links, so may be relevant.
WARNING: Danger of injury! When installed, the gas pressurized shock absorber is under preload. Minimize preload as far as possible before removing.
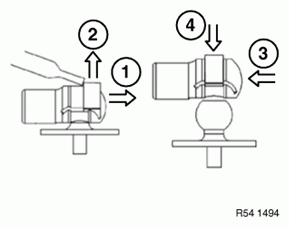
IMPORTANT: Never lift off ball socket with engaged clamp.

Version A: 

  1. Push on clamp in direction of groove with screwdriver
  2. Lift off ball socket from ball pin
  3. Slide clamp back
  4. Fit ball socket on ball stud and snap into place with force

Installation note: 

Pack grease into two opposite positions in socket. The grease spreads after installation on the ball pin all round in the ball socket.

Fig 1: Lifting Ball Socket From Ball Pin
G06177394Courtesy of BMW OF NORTH AMERICA, INC.

Version B: 

IMPORTANT: Risk of damage!
If you are not careful, retaining spring (2) may be bent to such an extent that the entire drive spindle will have to be replaced.

Press drive spindle (1) against ball pin in order to relieve strain on retaining spring (2) at ball pin.

Pull out retaining spring (2) approx. 2-3 mm with screwdriver (3).

Pull off spindle foot.

Fig 2: Pulling Retaining Spring With Screwdriver
G09879273Courtesy of BMW OF NORTH AMERICA, INC.
WARNING: Observe warning notices on the damper.
Electrical spindle drive for tailgate is under mechanical spring load!
The component must be secured against falling down.

Attention! 

Risk of damage!

Do not press on spindle drive at an angle or twisted.

Installation note: 

Press ball socket (1) onto ball pin (2) until retaining spring (3) engages correctly (clicking sound).

Fig 3: Pressing Ball Socket Onto Ball Pin
G06885662Courtesy of BMW OF NORTH AMERICA, INC.
IMPORTANT: If retaining spring (4) is damaged!
Release pin (1).
Remove spindle drive (3).
Remove ball socket (2).
Remove retaining spring (4) and replace if necessary.
Fig 4: Identifying Spindle Drive And Ball Socket
G06885663Courtesy of BMW OF NORTH AMERICA, INC.