LEMON Manuals: Even more car manuals for everyone
Home >> BMW >> 2007 >> M Coupe >> Repair and Diagnosis >> Restraints >> Restraints Control Systems >> Restraint System - Repair Instruction >> 12 Airbag Generator >> 72 12 ... Unlocking/locking airbag plug connections

72 12 ... Unlocking/locking airbag plug connections

WARNING: Read and comply with  safety regulations for handling airbag modules and pyrotechnical belt tensioners.
IMPORTANT: An airbag plug connection must be replaced if it is damaged.

Following versions of plug connections on airbag module/gas generator are possible:

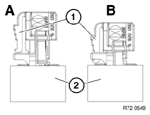
Airbag plug connection on gas generator/airbag module offset by 90°: 

There are two ways of unlocking this airbag plug connection on the gas generator/airbag module:

Method 1: 

Simultaneously pull cover (1) upwards at lugs on left and right (2).

Fig 1: Identifying Cover And Lugs
G04728072

Method 2: 

Insert a narrow screwdriver into recess (1) in housing (2).

Carefully prise cover (3) off (4).

Fig 2: Removing Housing Cover
G04728073

Cover (1) is not positioned higher than housing (2).

The airbag plug connection is unlocked and can now be detached from the gas generator/airbag module.

Fig 3: Identifying Housing And Cover
G04728074

Installation: 

After attaching airbag plug connection to gas generator/airbag module, press cover (1) downwards until it rests flat on housing.

Check that it catches properly.

Fig 4: Pressing Cover
G04728075

Airbag plug connection on gas generator/airbag module is straight (2 versions) 

Version 1: 

Press locking/unlocking plate (1) at edge (4).

Locking/unlocking plate (1) snaps upwards at opposite edge (3) and releases detent lug (2).

Fig 5: Pressing Locking/Unlocking Plate
G04728076

The airbag plug connection is unlocked and can now be detached from the gas generator/airbag module.

Fig 6: Identifying Generator/Airbag Module
G04728077

Installation: 

After attaching airbag plug connection to gas generator/airbag module, check whether detent lug (2) is visible in opening of locking/unlocking plate (1).

Only if the detent lug (2) is visible will the airbag plug connection gas generator/airbag module be correctly engaged.

Fig 7: Identifying Locking/Unlocking Plate And Lug
G04728078

Version 2: 

Press locking/unlocking plate (1) on edge (3) and pull plug (2) out of plug housing (4).

Installation: 

Only if the detent lug is visible in opening (5) will the gas generator/airbag module plug connection be correctly engaged.

Fig 8: Pulling Plug
G04728079

Version 3: 

Press lock button (1) and pull out plug (2) up to initial engagement position.

Detach plug (2) from firing pellet.

Installation: 

Insert plug connection in initial engagement position in gas generator/airbag module and engage in final engagement position.

Fig 9: Identifying Lock Button And Plug
G04728080

Illustration of version 3 with gas generator: 

  1. Initial engagement position
  2. Final engagement position
  1. Lock button
  2. Gas generator
Fig 10: Identifying Lock Button Gas Generator
G04728081

Version 4 - Crash-active head restraint: 

Press locking clip at edge and disconnect plug (1).

Installation: 

Check for correct engagement.

Fig 11: Pressing Locking Clip
G04748092