LEMON Manuals: Even more car manuals for everyone
Home >> BMW >> 2006 >> M5 >> Repair and Diagnosis (Single Page) >> Collision >> Dimensions >> Collision - Body Panel Repair (E60) M5 >> Body Panel Repair General Information >> 41 00... Overview Of Front End Repair Elements

41 00... Overview Of Front End Repair Elements

Fig 1: Identifying Front End Repair Elements
G05503156Courtesy of BMW OF NORTH AMERICA, INC.
FRONT END REPAIR ELEMENTS COMPONENTS REFERENCE

Component Repair element Part number Matching
(1) Engine carrier Repair kit, lug, radiator bracket 41 11 7 165 339 Mounting, carrier, bumper
  Threaded bolt, short 07 14 6 951 379 Mounting, carrier, bumper
Threaded bolt, long 07 14 6 951 380
  Screw, self-tapping 51 16 8 220 001 Bracket, washer fluid reservoir
Bracket, secondary air pump
  Helicoil thread insert 07 14 6 958 589 Bushing, front axle, front/middle
(2) Support carrier Blind rivet nut 41 12 8 223 082 Support carrier, wheel arch, front right
  Blind rivet nut, countersunk head 41 32 8 257 508 Support carrier, wheel arch, front left
  Flange nut 07 14 6 949 832 Support carrier, wheel arch, outer
Shim 41 35 7 001 794
(3) Spring support M8 Helicoil thread insert 07 14 6 958 587 V-strut on spring support
  Blind rivet bolt with coarse thread 41 12 8 244 333 Spring support, right
Blind rivet nut 32 41 1 094 185
(4) Bulkhead M8 Helicoil thread insert 07 14 6 958 587 Cross-member, bulkhead
  Flange nut 07 14 6 949 832 Mounting, wiper system
Shim 41 35 7 001 794
Repair solution, threaded bolt Expander rivet 51 11 1 908 077  
Cable strap 32 41 1 112 282
Various repairs M8 hexagon nut 07 11 9 904 024  
M6 hexagon nut 07 12 9 904 859
M5 hexagon nut with shim 07 12 9 904 381
  M5 Helicoil thread insert 07 14 6 958 585  
M6 Helicoil thread insert 07 14 6 958 586
M10 Helicoil thread insert 07 14 6 958 587

All the repair elements for the weight-reduced aluminum front end are depicted in the following.

Mark severance cut (1) in accordance with measurement a and cut.

Measurement a = 63 mm from top edge, lug, radiator bracket.

Carry over holes from new part, drill and screw new part into place.

Fig 2: Identifying Dimension Of Top Edge
G05503157Courtesy of BMW OF NORTH AMERICA, INC.

Drive through damaged threaded bolts (1) towards rear.

Insert new threaded bolts (1) and (2) in same position, turn if necessary.

Peen threaded bolts (1) and (2) from front end with 2 mm punch.

NOTE: Cut off threaded bolt (2) before driving through.

Installation: 

Grind off 3.5 mm of threaded bolt (2) at head on one side and apply primer coating.

Fig 3: Identifying Threaded Bolt (1 Of 2)
G05503158Courtesy of BMW OF NORTH AMERICA, INC.

Grind off torn threaded bolts (1) until flush and apply primer coating.

IMPORTANT: Do not damage aluminum surface.

Drill 5.5 mm dia. holes (2) at distance of approx. 8 mm in a level plane.

Insert self-tapping screw.

Tightening torque 8 Nm.

Fig 4: Identifying Threaded Bolt (2 Of 2)
G05503159Courtesy of BMW OF NORTH AMERICA, INC.

Thread repair with Helicoil thread insert  can be used on the spring support (1).

Read and comply with tool manufacturer's instructions.

Fig 5: Identifying Spring Support
G05503160Courtesy of BMW OF NORTH AMERICA, INC.

Thread repair with Helicoil thread insert  can be used on the bulkhead (1).

Read and comply with tool manufacturer's instructions.

Fig 6: Identifying Bulkhead
G05503161Courtesy of BMW OF NORTH AMERICA, INC.

Thread repair with Helicoil thread insert  can be used on the front engine carrier bushings (1) and middle engine carrier bushings (2).

Read and comply with tool manufacturer's instructions.

Fig 7: Identifying Front Engine Carrier Bushings And Middle Engine Carrier Bushings
G05503162Courtesy of BMW OF NORTH AMERICA, INC.

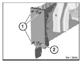
Remove damaged press-in nuts in areas (1).

Fig 8: Identifying Flange Nut With Shim
G05503163Courtesy of BMW OF NORTH AMERICA, INC.

Drill out hole (1) to 18 mm.

Fit Limbach nut (2) from below; if necessary, secure with sealing compound.

Insert shim (3) in bore.

Install screw (4).

Fig 9: Identifying Shim, Limbach Nut And Screw
G05503164Courtesy of BMW OF NORTH AMERICA, INC.