LEMON Manuals: Even more car manuals for everyone
Home >> BMW >> 2003 >> Z8 Base >> Repair and Diagnosis (Single Page) >> Body & Frame >> Towing Systems >> Trailers - Repair Instructions >> loading platform >> 86 10 ... Disassembly of loading ramp frame/disassembly of rail, left/right

86 10 ... Disassembly of loading ramp frame/disassembly of rail, left/right

NOTE: Two persons are required to disassemble the loading ramp frame.

Disassembly of license plate mounting plate refer to 86 10 ... Disassembly of licence plate mounting plate  Disassembly of license plate mounting plate.

Disassembly of pull rod refer to 86 10 ... Removing overrunning equipment/maintaining or replacing guide bush/installing overrunning equipment  .

Release screws (1) of loading ramp frame (2) on cross-strut (3).

Fig 1: Releasing Screws Of Loading Ramp Frame On Cross-Strut
G03207600Courtesy of BMW OF NORTH AMERICA, INC.

Installation: 

Tightening Torque, 11.5 Nm.

Release screws (1, 2) on left and right sides of loading ramp frame (3).

Fig 2: Releasing Screws On Left And Right Sides Of Loading Ramp Frame
G03207601Courtesy of BMW OF NORTH AMERICA, INC.

Installation: 

Use new self-locking nuts.

Tightening Torque, 11.5 Nm.

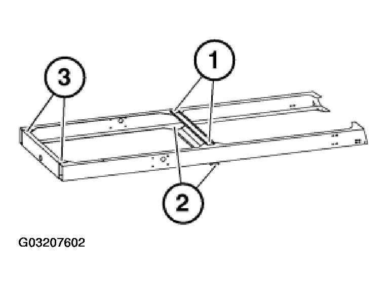
Release screws (1, 2, 3).

Fig 3: Releasing Screws
G03207602Courtesy of BMW OF NORTH AMERICA, INC.

Installation: 

Use new self-locking nuts.

Tightening Torque, 5.5 Nm.