LEMON Manuals: Even more car manuals for everyone
Home >> BMW >> 2003 >> Z8 Base >> Repair and Diagnosis (Single Page) >> Accessories & Equipment >> Anti-Theft Systems >> Remote Keyless Entry - Service Information >> New Radio Remote Control (RKE) >> 7. System initialization >> Initialization Procedure:

Initialization Procedure:

  1. Open central locking system (ZV) using the car key.
  2. Get into the car and close all doors.
  3. Using the car key, switch the ignition lock briefly to ignition lock position 1 and then switch off again. The switching time must remain under 5 seconds, otherwise the system is not ready for initialization.
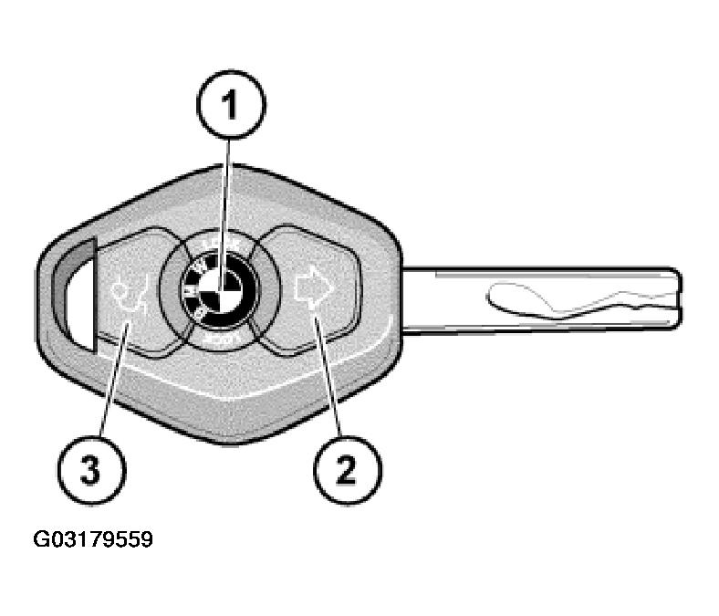
  4. At the radio transmitter: Press button 2 and hold in.
  5. Press button 1 three times (in a space of 10 seconds). Button 2 must remain held in.
  6. Release button 2.
  7. The ZV signals by means of "Locking" and immediate "Unlocking" that a radio transmitter has been successfully initialized.
Fig 1: Identifying RKE Input Buttons
G03179559Courtesy of BMW OF NORTH AMERICA, INC.

If the ZV does not send a return signal, initialization must be restarted.

Once the first initialization process has been completed, another three radio transmitters can be initialized.

For every other radio transmitter, the procedure described under step 4) above must be repeated within 30 seconds, otherwise initialization stand-by is switched off.

During initialization, all other existing radio transmitters must be initialized. The ignition lock must never be reactivated during the initialization process. If this were to happen, then all radio transmitters would have to be re-initialized.