LEMON Manuals: Even more car manuals for everyone
Home >> BMW >> 2003 >> M3 2D Convertible >> Repair and Diagnosis >> Accessories & Equipment >> Memory Modules >> General Electrical System - Repair >> Plug Connections, Terminals >> 61 13 ... Repairing Ribbon Cables

61 13 ... Repairing Ribbon Cables

Special tools required: 

For further information on special tools, refer to GENERAL ELECTRICAL SYSTEM - SPECIAL TOOLS - 3-Series (M54/E46) .

Place ribbon cables (1) in connector housing (2) and close cover (3).

Fig 1: Placing Ribbon Cables In Connector Housing
G03119519Courtesy of BMW OF NORTH AMERICA, INC.

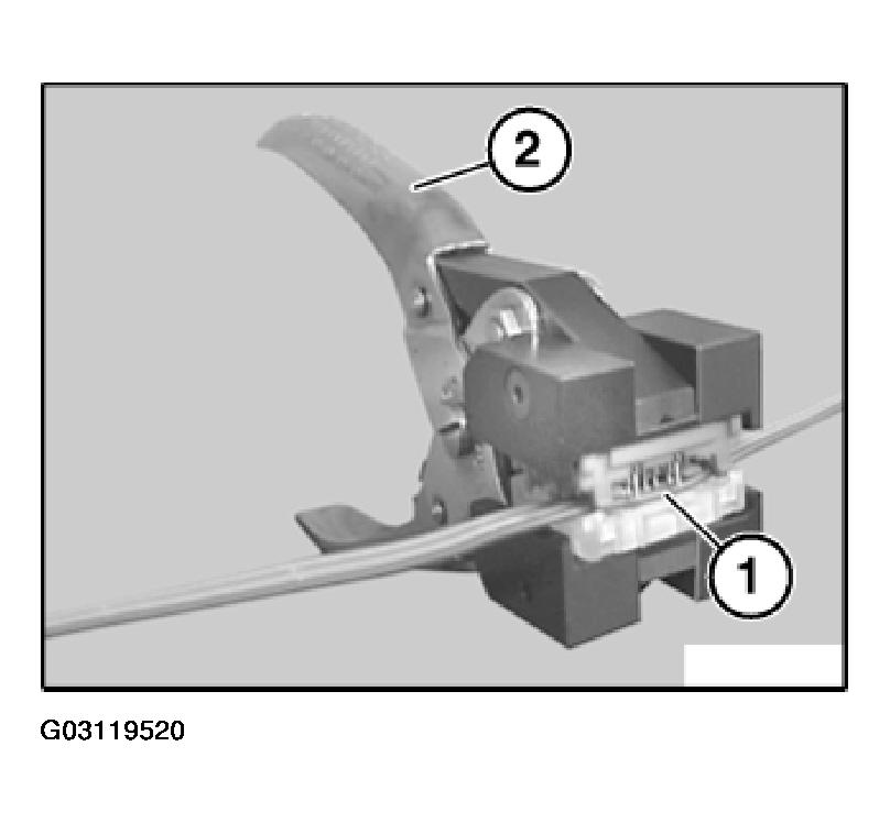
Place connector housing (1) in pliers (2) 61 1 190.

Fig 2: Placing Connector Housing In Pliers
G03119520Courtesy of BMW OF NORTH AMERICA, INC.

Close pliers (2).